4、物联中心

物联中心

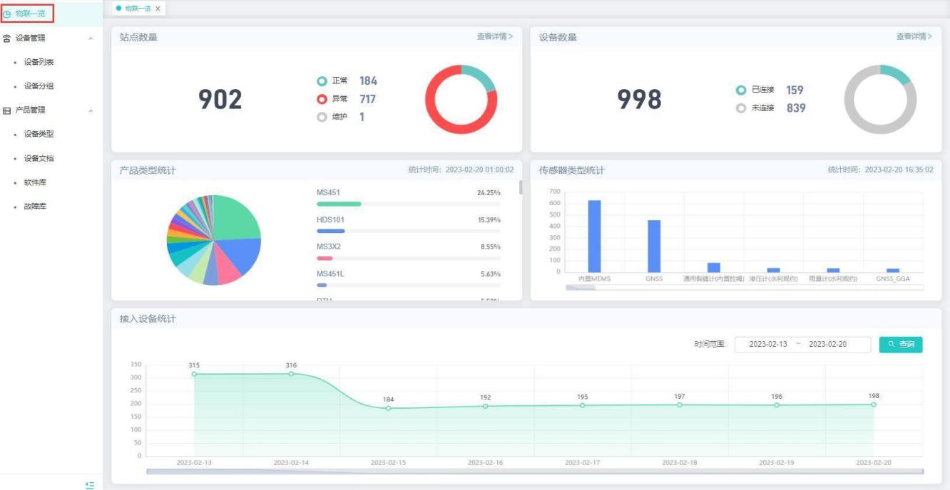
物联一览

【功能说明】查看平台设备接入情况

【操作用户】监测云用户

【操作说明】登录平台后,进入【物联中心】-物联一览,以报表方式展示物联数据统计信息

设备管理

设备列表

【功能说明】设备管理对设备及设备分组进行管理

【操作用户】监测云用户

【操作说明】用户登录系统后,点击【物联中心】进入设备管理-设备列表,可根据搜索条件查询设备。

  • 倾角计批量重置初始值

勾选多个相同类型的设备,选择批量重置初始值,下发重置初始值任务,设备会将最新上报的数据作为初始值。

批量重置初始值生效条件:1)当前传感器有上报过数据(作为初始值);2)当前传感器模板中添加了相关初始值配置(x–>x0)

重置初始值成功后,设备新上报的数据在监测数据中展示应用重置初始值后的结果;监测报表中也同步展示应用重置初始值后的结果。

  • 内置物联网卡号

设备已存在内置卡的MS4XX、MS3X2B系列产品,进入物联中心-设备列表-设备详情-状态数据中,查看上报的“内置卡iccid”和“iccid”状态数据。

  • 通信数据、状态数据批量导出

在设备列表中,勾选需要导出的设备,选择导出设备数据的时间,不选择时间则默认导出近七天的数据。确定,选择设备的通信数据、状态数据导出到Excel表格中。

注:一次导出的设备不超过十台

设备分组

【功能说明】设备分组详情展示及【增】【删】【改】【查】等操作

【操作用户】监测云用户

【操作说明】点击“设备分组”-“+新增”按钮,显示创建设备分组弹窗,输入设备分组信息,点击“确定”按钮。并且设备分组列表界面可进行设备分组详情查看、编辑和删除

注:群组名称为唯一值,不允许重名

设备接入

【功能说明】各终端类型设备的接入方式及配置

操作前需先熟知下方文档

TCP协议设备接入解析
设备鉴权

【功能说明】MQTT、TCP、NTRIP协议设备接入平台规范

【操作说明】

1、登录平台系统

用户账号登录监测云2.0管理平台;

2、鉴权脚本编写

点击物联中心“产品管理”-“设备类型”-“终端类型”,点击终端类型MCU,在弹窗窗体中选择鉴权脚本,进行自定义鉴权脚本的编写

脚本规则:

默认输出的鉴权方:function rawDataAuth(rawData),

设备上报数据:rawData(16进制的字节数组)

以MCU为例,当设备首次连接平台时发送平台识别码(16进制的字节数组),将数组转为字符串,数据格式如果是“Reg KEY=xxx”或者“Hrt KEY=xxx” (xxx为设备SN),则鉴权通过,反之鉴权失败

返回结果格式:{

authKey: “sn”, // 鉴权字段

authVal: sn, // 鉴权值

sendFunction: “syncTime”, // 固定格式字段

ztFunction: “ztRawDataToProtocol”, // 固定格式字段

heartFunction: “heartDataMatch” // 固定格式字段}

3、新增设备

点击物联中心“设备管理”-“设备列表”,点击“新增”终端类型选择MCU、通讯协议选择TCP、设备SN为真实设备SN或手动创建任意SN(手动创建SN用于模拟TCP设备上报数据包)

4、配置传感器参数

点击传感器列表的“编辑”,填写传感器参数

5、鉴权

KEY=设备SN,使用网络调试助手模拟TCP协议接入,发送鉴权信息Reg Key=xxx(xxx为设备SN)

数据解析展示

需熟悉VWM型多点位移计文档

1、数据上报

使用真机接入上报/使用网络调试助手模拟设备上报数据包

数据包1(HEX)格式:模块地址码+功能码+字节长度+内部时间+模块电池电压+1-24通道的模数和温度数据+校验码;

3D 03 C8 61 43 2A B8 45 74 20 00 45 9C C2 14 41 E2 F5 C3 45 8E AF 48 41 E2 28 F6 45 98 F9 48 41 E2 F5 C3 00 00 00 00 00 00 00 00 00 00 00 00 00 00 00 00 00 00 00 00 00 00 00 00 00 00 00 00 00 00 00 00 00 00 00 00 00 00 00 00 00 00 00 00 00 00 00 00 00 00 00 00 00 00 00 00 00 00 00 00 00 00 00 00 00 00 00 00 00 00 00 00 00 00 00 00 00 00 00 00 00 00 00 00 00 00 00 00 00 00 00 00 00 00 00 00 00 00 00 00 00 00 00 00 00 00 00 00 00 00 00 00 00 00 00 00 00 00 00 00 00 00 00 00 00 00 00 00 00 00 00 00 00 00 00 00 00 00 00 00 00 00 00 00 00 00 00 00 00 00 00 00 00 00 00 00 00 00 00 00 00 00 00 00 00 00 00 00 EE A3

数据包1(HEX)协议解析指导说明:

地址 名称 字节地址 说明 解析数据
1 模块地址码 3D 范围:1-254 3D十六进制转十进制61
2 功能码 03
3 字节长度 C8 N个BYTE C8十六进制转十进制200
4-7 内部时间 61 43 2A B8 时间戳 61 43 2A B8十六进制转十进制 1631791800后再转UTC时间(北京时间=UTC时间-8小时)
8-11 模块电池电压 45 74 20 00 单位mv 45 74 20 00(高位在前)转浮点数3906
12-15 通道1模数数据 45 9C C2 14 单位为F 45 9C C2 14(高位在前)转浮点数5016.26
16-19 通道1温度数据 41 E2 F5 C3 单位为 41 E2 F5 C3(高位在前)转浮点数28.37
20-23 通道2模数数据 45 8E AF 48 单位为F 45 8E AF 48(高位在前)转浮点数4565.91
24-27 通道2温度数据 41 E2 28 F6 单位为 41 E2 28 F6(高位在前)转浮点数28.27
28-31 通道3模数数据 45 98 F9 48 单位为F 45 98 F9 48(高位在前)转浮点数4895.16
32-35 通道3温度数据 41 E2 F5 C3 单位为 41 E2 F5 C3(高位在前)转浮点数28.37
36-203 通道4-通道24模组和温度的数据
204-205 CRC-16效验码 低字节在前

2、解析脚本编写

点击物联中心“产品管理”-“设备类型”-“传感器类型”,点击终端类型VWM-50,在弹窗窗体中选择解析脚本,进行自定义解析脚本的编写

脚本规则:

默认输出的解析方法:function rawDataToProtocol (jsonObj),

整合设备上报数据的对象:jsonObj(包含传感器的监测方法:monitor_type;outside_code;传感器配置项:地址addr,通道号chn,初始的频率模式F0,多点位移计的测量灵敏度k;以及上报的数据包rawdata)

以VWM-50为例,当设备鉴权通过之后,上报数据包(16进制的字节数组),第一步:判断是否为沾包数据,需要对沾包的数据进行分割,再分别解析;

第二步:对数据进行crc16校验

第三步:解析数据,转换数据包中的时间戳,同时获取数据包中通道号等于配置项chn的数据,解析该通道中的模数数据f,根据公式result = (f – F0) * k,解析出频率模数result,作为结果返回。

返回结果格式:{

jsonObj.monitor_type + ‘_’ + jsonObj.outside_code: {

// 解析数据包中的时间:计算对应通道号中模数数据的结果

time1: f1,

// 如果是沾包数据,则可能会有多条数据

time2: f2,

}

}

3、解析结果展示

在物联中心“设备管理”-“设备列表”-“更多”-“通信数据”查看界面展示

视频设备接入
萤石云视频设备接入

【操作说明】1、进入”项目管理”-“设备管理”-”设备列表”,新增视频设备

2、进入”项目管理”-“平台管理”-”站点管理”,新增站点,站点类型选择”视频监测”,绑定视频设备

3、登录萤石云设备平台https://open.ys7.com/console/device.html通过用户名:18613098128 密码:(zhdgps)668登录

4、新增萤石协议接入

5、进入”监测预警”-”视频监控”查看已接入的视频设备

6、视频设备重启,在萤石云平台,设备列表中,点击“在线配置”,下载插件,进行安装

IMG_256

7、点击“系统维护”-“重启”即可

华为视频接入

视频设备创建方式均一致

天地伟业视频接入

视频设备创建方式均一致

登录天地伟业设备平台http://172.16.36.234:7000通过用户名:admin 密码:pg123456登录

IMG_256

MS3X1设备接入配置

(先在本地打开MS系列调试助手通过串口进行连接)

新增设备

操作说明】①用户账号登录监测云2.0管理平台;

②点击设备管理,进入设备列表界面,新增设备终端类型为MS331/MS331U、通讯协议为TCP协议、设备SN为真机设备机身号

设备端配置

【操作说明】①设置详情

MS331/MS331U监测终端的串口不仅支持原始数据的输出,也支持终端的调试与设置。具体如下操作:

首先将“MS331/MS331U”终端供电,并连接至电脑串口,等待初始化(约15秒)。

其次打开“监测终端MS系列调试助手”,设置相应串口号,打开串口,

“监测终端MS系列调试助手”会自动扫描并获取接收机的状态信息。

①选择对应串口;②打开串口;③刷新信息;④输入功能环境ip与tcp端口号发送;⑤查看连接状态从查询4G网络连接至数据交互中表示与平台建立连接

设备为MS331U型号则需添加以下步骤

如弹出刷新成功的提示框,则可对设备参数进行浏览、配置及控制,如上图所示。配置成功后,查看平台与设备是否处于连接状态,并开展远程控制指令下发操作。

②通过命令形式对终端的参数进行浏览、配置及控制。如下图所示

③通过平台远程控制对终端的参数进行浏览、配置及控制如下图所示

监测终端指令表

名称 命令号 返回消息
读取设备信息 $$NT0000 CMD 00 $$NS,<机身号>,<产品型号>,<固件版

本>,<主板类型代号>,<主板序列号>,<主板固

件版本>,1,1,<数据传输间隔代号>,1*<校验

码>①

如:CMD 00 $$NS,13660019,Z1,V1.0.0Beta2

-20170121,3,3800016B15060001,SVN2983,1,1

,5,1* 2

读取电压温度 $$NT0001

CMD 01 $$

读取电压温度 $$NT0001 CMD 01 $$NV,<输入电压>,<机身温度>*<校验

码>

如:CMD 01 $$NV,10.37,44.9*11

恢复出厂设置 $$NT0002 CMD 02
终端热重启 $$NT0003 CMD 03
主板电源重启 $$NT0004 CMD 04
复位主板 $$NT0005 CMD 05
查询终端状态 $$NT0006 CMD 06 $$NE,<系统初始化状态>,<主板状态>,<

存储器状态>,<温度传感器状态>,<数据记录状态>*<校验码>②

如:CMD 06 $$NE,1,1,1,1,0*2d

终端冷重启 $$NT0007 CMD 07
4G通信模块开

$$NT0209ON CMD 09

CMD09 ON

4G通信模块关

$$NT0209OF CMD 09

CMD09 OFF

获取原始数据 $$NT10142018081

617

CMD 14

year-month-date hour:min 年-月-日 小时

例如:

CMD 14

year-month-date hour:min 2022-03-16 17

查询存储空间 $$NT0016 CMD 16 SD Card Mount Fatfs OK!

SD Total Size: <存储器大小>

SD Free Size: <剩余空间>

SD Used Size: <使用空间>

SD Idle Rate: <闲置率>

如:

CMD 16 SD Card Mount Fatfs OK!

SD Total Size: 15026 MB

SD Free Size: 14941 MB

SD Used Size: 85 MB

SD Idle Rate: 994

格式化存储器 $$NT0018 CMD 18 EMMC初始化成功!EMMC擦除测试成功!
获取当前GGA $$NT0019 CMD 19 $GNGGA,084644.30,2259.01202345,N,

11322.05833060,E,1,14,0.88,34.9996,M,-2.

0000,M,,*6E

查询主板信息 $$NT0020 CMD 20 GNSSBoardSN:<主板序列号>

BoardVersion:<主板固件版本>

Board Mode:<主板模式>

Board FPGA:<内核版本>

如:

CMD 20 GNSSBoardSN:3800016B15060001

BoardVersion:SVN2983

Board Mode:GP3GL2BD3RTK10

Board FPGA:YG1316-150127-4

数据传输间隔 1s $$NT021001

5s $$NT021005

10s $$NT021010

15s $$NT021015

30s $$NT021030

60s $$NT021060

CMD 10 CMD10 1s
移动站模式 $$NT021501 CMD 15

CMD15 1s

设置基站 $$NT0021 CMD 21 自动平滑坐标设置基站
设置基站 $$NT3722N22.983

529130E113.3676

49266P0032.5425

CMD22 手动设置基站 (WGS84坐标系度格式)

纬度:N北纬,S南纬;

经度:E东经,W西经;

海拔:P正海拔,N负海拔

设置静态模式 $$NT0024 CMD 24 设置为静态模式
4G通信参数设

置(TCP/IP)

$$NT2326,TCP:59

.42.53.226:5015

2

CMD 26

GSM Protocol:<TCP/IP Clent>

GSM IPAddress:<IP> GSM Port:<端口>

例如:

CMD 26 GSM Protocol : TCP

GSM IPAddress : 59.42.53.226

GSM Port : 50152

4G通信参数查

$$NT0027 CMD 27⑥

GSM Moudle is ON <4G模块状态>

GSM State : 13 <网络状态>

GSM Vendor : Huawei Technologies Co.,

Ltd.

GSM Model : ME909s-821

GSM Revision : 11.617.05.00.00

GSM IMEI : 867223026367086

SimCard ICCID : 89860318940209644702

SimCard TYPE : LTE <网络模式>

SimCard CSQ : 15 <信号强度>

SimCard CREG : 1 <SIM卡注册状态>

GSM Protocol : TCP

GSM IPAddress : 59.42.53.226

GSM Port : 55530

Ntrip IPAddress : 59.42.53.226

Ntrip Port : 55525

Ntrip Source : RTCM32

Ntrip User : hdd

Ntrip Pwd : zhdgps

Ntrip Server : ON <Ntrip服务>

查询基站坐标 $$NT0028 Fix position <纬>,<经>,<高程>

例如: Fix position 22.981352119066664

113.358315427933320 54.2852

4G无线固件升

$$NT0029 CMD 29

升级成功后 OTA has been Successful

4G通信参数设

置(Ntrip)

$$NT3830,202.96

.185.36:10040,R

TCM30,hdd,zhdgp

s

CMD 30

Ntrip IP:<IP> Ntrip Port:<端口>

Ntrip Source:<源节点>

Ntrip User:<用户名> Ntrip Pwd:<密码>

例如:

CMD 30 Ntrip IP : 202.96.185.36

Ntrip Port : 10040 Ntrip Source: RTCM30

Ntrip User : hdd Ntrip Pwd : zhdgps

Ntrip 服 务 开

$$NT0231ON CMD 31

CMD31 ON

Ntrip 服 务 关

$$NT0231OF CMD 31

CMD31 OFF

MS3X2设备接入配置
新增设备

【操作说明】①用户账号登录监测云2.0管理平台;

②点击设备管理,进入设备列表界面,新增设备终端类型为MS3X2通讯协议为TCP/NTRIP/MQTT协议、设备SN为真机设备机身号

③进入MS3X2网页管理系统http://172.16.33.23/(MS3X2系列设备接收机提供对应ip)。

c51bc2f32e8f00fd5e19a3694e41662

进入”工作模式”-”网络传输”,新增一条网络传输链路;配置如图所示①设备机身号=平台设备sn;②数据类型=平台设备传感器数据类型;③用户名=平台设备Id;④密码=平台设备Key;⑤挂载点可以为设备sn或设备Id。

1、NTRIP接入平台方式:

2、TCP接入平台方式

3、MQTT接入平台方式:

调试网络传输是否成功

②平台设备连接状态处于已连接

2.2.2.3.4.2远程控制接入配置

【操作说明】

①进入MS3X2网页管理系统http://172.16.33.23/(MS3X2系列设备接收机提供对应ip)。进入”高级设置”-”系统控制”-”远程控制”,配置设备远程控制链路

②平台下发远程控制指令对终端设备进行控制

HDS20X/HDS10X设备接入配置
设备自注册

【操作说明】①使用app端”中海达监测”-进入监测系统主页

②进入【应用管理】并点击【设备控制】进入【设备蓝牙连接平台】

点击【蓝牙连接】进入搜索范围设备

扫描”获取范围内所有设备,点击【连接】获取并配置对应设备,如下图所示

“高级设置”-”HI-IMS”中配置自注册地址

③”网络配置”页面选择未启用的连接执行”编辑”,根据图中所示

配置完成后执行连接测试,提示连接成功则返回网络配置查看网络连接处于已连接状态

平台对应设备机身号自创建成功;状态数据上报正常

状态数据根据传感器配置传输间隔上报

MS4X1/MS301/MS11设备接入配置
设备自注册

(参考HDS20X设备自注册)

三旺串口服务器设备接入配置
新增设备

【操作说明】

①用户账号登录监测云2.0管理平台;

②点击设备管理,进入设备列表界面,新增设备终端类型为三旺串口服务器,通讯协议为TCP协议、设备SN为真机设备机身号

③三旺串口服务器及配置的传感器接入局域网后,打开其服务地址 http://172.16.32.166/

按”主菜单”-”串口服务器”-”串口配置”进入配置页面,根据图中注释配置对应平台地址与端口,串口工作模式根据传感器选择对应工作模式

④配置完成点击”设置”,返回平台编辑三旺串口服务器下传感器采集模式为主动采集。

传感器状态数据按配置上报成功

DTU终端服务设备接入配置
新增设备

【操作说明】①用户账号登录监测云2.0管理平台;

②点击设备管理,进入设备列表界面,新增设备终端类型为DTU,通讯协议为TCP协议、设备SN为真机设备机身号

DTU终端服务配置

【操作说明】①通过串口将DTU服务器设备连接至本地

点击”读取配置”,成功读取后,即可对参数进行配置 快速配置,按照如下截图,配置相关信息,其他配置项默认

工作协议:PROT(默认)

设备ID:用于区别DTU(必须是八位数)

手机号码:用于电话号码管理(必须是十一位数)

信息输出接口:配置为485

主服务中心和备份中心,及对应端口:一般配置一样。

串口波特率:目前应用的传感器波特率均为9600,因此配置为9600.(若后期有115200,则根据实际应用进行配置)

网络模式,PPP认证:AUTO(默认) ”中心服务”可对接入地址进行配置 ”串口”可对已通过接入到DTU的传感器进行配置 DTU终端配置完成后手动下发配置,并重启

  1. 注意事项
  2. F2A16 DTU为全网通4GDTU,可兼容2G/3G网络。
  3. F2A16 DTU可同时接RS232信号和RS485信号。

DTU配置是有时间限制的,最好在5分钟内完成配置

MCU终端服务设备接入配置
新增设备

【操作说明】①用户账号登录监测云2.0管理平台;

②点击设备管理,进入设备列表界面,新增设备终端类型为DTU,通讯协议为TCP协议、设备SN为真机设备机身号

MCU终端服务配置

【操作说明】①通过串口将MCU调试助手连接至本地,点击”打开串口”后读取其配置,成功读取后,即可对参数进行配置

无线参数中设置IP、端口和扩展功能(MODBUS:05223)

3CWM系列模块MODBUS-RTU测试工具配置

【操作说明】①打开软件——选择端口号——打开串口——查询

  • 选择设备:对应通道数;
  • 模块地址码:103(配置表记录,配置到平台,地址唯一)

②勾选采集周期(秒)——填写时间(建议半小时1800秒)——点击设置——打开自报;

③点击读取数据——查看当前传感器的模数值(安装完成后读取数据,记录初始模数F0:5552.61

④点击同步钟

北斗终端设备中转配置
新增设备

【操作说明】①新增四信DTU/三旺串口服务器设备,并绑定北斗短报文终端传感器

②新增北斗RTU设备,挂载北斗终端设备,用于接收北斗短报文数据

北斗中转配置手册

平台配置项

1、【物联中心】——【设备列表】——【新增】,首先新建1个DTU,下面先不要挂载传感器,然后记录DTU的设备ID。

添加DTU,先不挂传感器

记录DTU的设备ID

2、新建RTU设备,并添加传感器。

  • 产品类型:北斗中转RTU
  • 通讯方式:北斗短保文
  • 北斗中转id:填写中转DTU的设备ID

添加RTU下面接的传感器

3、RTU添加完成后记录RTU的设备ID和,设备KEY。

4、DTU下面添加北斗终端传感器。

  • 传感器类型:北斗短报文终端传感器
  • MQTT密码:RTU的设备key
  • MQTT账号:RTU的设备ID
  • 发信地址:无线预警广播的时候才配置,发信地址是拓扑图中接收端的北斗卡号
  • 收信地址:无线预警广播的时候才配置,收信地址是拓扑图中发送端的北斗卡号
  • 北斗设备类型:中转
  • IP:114.215.18.146
  • 端口:218XX

MS3X2B 设备接入配置
设备自注册

【操作说明】①设备开机默认以4G方式连接到web.ims.zhdbds.com平台,在平台对设备进行配置与操作

设备传感器与链路配置

【操作说明】如下图操作步骤所示

预警喇叭配置
设备接入

(参考设备类型为DTU,传感器绑定声光报警器)

喇叭站点配置(杭亚声光报警器)

喇叭站点配置(部标协议喇叭)

注:需要提供平台ip与端口以及设备id与key给到第三方

喇叭站点配置(杭亚声光报警器旧款)

(参考设备类型为DTU,传感器绑定声光报警器旧款)

浙江博远采集仪设备配置

1、双击安装程序BY-IPCS_2.1.1.exe ,双击开始进行安装。(建议安装路径选择非系统盘)

2、安装完成后双击桌面图标,软件会提示进行软件注册,负值软件编号,将软件编号交给厂家技术工程师,厂家提供软件注册文件后导入,软件即可正常使用。

站点添加

1、【统配置】——【采集仪(DTU)配置】——【新增】,进入采集仪设备添加界面。

2、勾选设备型号;D3000B,下一步。

型号选择D3000B

3、填写采集卡IP和端口。采集卡IP可以从设备机身的标签上获取,端口默认8888。

4、填写设备编码和设备ID。设备编码可随意命名,建议统一设置为:EDVID+ID。(例如,某采集卡在设备机身上的ID为4000230317081322502,则设备编码设置为:EDVID:4000230317081322502)。设备ID:即采集卡ID,自设备机身标签上获取。
5、采集仪添加完成后会在【测点配置】下自动带出该采集模块的通道。

采集仪添加完成

测点配置

1、动挠度

1、勾选需要配置的通道(系统内通道其实编号为0,即0通道对应采集卡的第一通道),点击【修改】。

2、填写测点名称,安装位置等信息后点击下一步。

测点名称:参照设计方案中对每个传感器测点的命名。

安装位置:实际的安装位置

实际单位:V (注:传感器输出的模拟量单位)

工程单位:mm (注:监测项最终需要输出的物理量单位)

监测类型:挠度

3、填写如下配置项后直接点击保存。

计算公式:X/灵敏度+计算公式常量-初始值

是否启用:是

是否上传:是

灵敏度:填写测试结果中第4档灵敏度数值 (注:1、设备发货时有测试结果表单,灵敏度自测试结果表单获取。2、振动法测动挠度时传感器需要调整到第4档。)

2、振动加速度

1、勾选需要配置的通道(系统内通道其实编号为0,即0通道对应采集卡的第一通道),点击【修改】。

2、填写测点名称,安装位置等信息后点击下一步。

测点名称:参照设计方案中对每个传感器测点的命名。

安装位置:实际的安装位置

实际单位:V (注:传感器输出的模拟量单位)

工程单位:m/s² (注:监测项最终需要输出的物理量单位)

监测类型:横向加速度(X、Y轴为横向加速度,Z轴为竖向加速度)

3、填写如下配置项后直接点击保存。

计算公式:X/灵敏度+计算公式常量-初始值

是否启用:是

是否上传:是

灵敏度:填写测试结果中第1档灵敏度数值 (注:1、设备发货时有测试结果表单,灵敏度自测试结果表单获取。2、振动加速度传感器调整到第1档。)

设备添加完成,注意区分横向、竖向

注意:双向加速度传感器是两个单向振动传感器按不同振动方向组合,占用2采集仪的两个通道,三向振动传感器同理占用三个通道。

3、索力

1、勾选需要配置的通道(系统内通道其实编号为0,即0通道对应采集卡的第一通道),点击【修改】。

2、填写测点名称,安装位置等信息后点击下一步。

测点名称:参照设计方案中对每个传感器测点的命名。

安装位置:实际的安装位置

实际单位:V (注:传感器输出的模拟量单位)

工程单位:KN (注:监测项最终需要输出的物理量单位)

监测类型:索力

3、填写如下配置项后直接点击保存。

计算公式:X/灵敏度+计算公式常量-初始值

是否启用:是

是否上传:是

灵敏度:填写测试结果中灵敏度数值 (注:1、设备发货时有测试结果表单,灵敏度自测试结果表单获取。)

需添加吊索配置参数

4、站点配置

配置如下:【站点配置】——【添加】,添加完成站点后进行采集板卡关联。

数据转发

1、下载安装包

1、登录网址:ops.bydziot.com:3000 ,登录账户:admin 登录密码:admin123! 。在【安装包】中下载以下几个程序,注意新建一个文件夹,将下载的几个程序都放置在该文件夹下面。

2、安装python

1、打开命令提示框,以管理员身份运行。

2、输入以下代码:

cd D:\IPCS_DATE_2

# D:\IPCS_DATE_2为下载的五个安装包的存储路径

d:

D:\IPCS_DATE_2>installEnvironment.bat

# D:\IPCS_DATE_2>为下载的五个安装包的存储路径

3、根据命令提示框一直进行按任意键继续的操作,直到最后命令提示框自动退出。

3、安装StandardMultiple

1、解压StandardMultiple压缩包。

2、打开命令提示框,以管理员身份运行。

3、输入以下代码:

cd D:\IPCS_DATE_2\StandardMultiple

d:

registrationServices.bat

4、转发配置

浏览器输入网址:http://127.0.0.1:15672/ ,账号密码:guest/guest 。(这个一般用不到,收藏下来方便出现故障排查)

多路转发配置(支持MQTT、HTTP协议)

1、登录:http://127.0.0.1:4000/index/config ,账号密码:admin/admin123! 。

5、RabbitMQ数据来源

IP地址:127.0.0.1

端口:5672

网页端口:15672

用户名称:ipcs

用户密码:ipcs123!

虚拟主机:/ipcs

6、MQTT转发项

唯一标识:任意命名

转发名称:任意命名

实时数据:开启 (#对接中海达监测2.0选择开启)

实时数据Topic: /api/data/vibrate/snapshot (#接收数据的平台方提供)

特征值数据:开启 (#对接中海达监测2.0选择开启)

特征值数据topic: /api/data/eigenvalue (#接收数据的平台方提供)

IP地址:114.215.18.146 (#数据接收方平台MQTT链路地址)

端口:21883 (#数据接收方平台MQTT链路地址)

客户端ID:监测云平台设备ID

用户名称:监测云平台设备ID

用户密码:监测云平台设备key

Qos:待填写

数据降频:默认频率 (#)

7、HTTP转发项目

唯一标识:任意命名 (#多路转发的时候每个都要设置为不相同的)

转发名称:任意命名

实时数据:按需开启

实时数据URL:接收方平台HTTP链路IP (#注意IP要加http://)

特征值数据:按需开启

特征值数据URL:接收方平台HTTP链路IP (#注意IP要加http://)

数据降频:默认频率 (#)

雷达采集仪设备配置

【功能说明】新增雷达采集仪设备,新增设备、工程即可,接入雷达采集后,自动新增传感器和站点信息

【操作用户】监测云用户

【操作说明】1、登录监测云平台,进入【物联中心】-设备管理-设备列表,点击【新增】,产品类型选择【雷达采集仪】,输入正确的【经度、纬度】,点击【保存】

2、进入【运维中心】-平台管理-工程信息,点击【新增】,输入正确工程信息,点击【保存】

3、雷达平台需配置服务器IP地址、端口、工程名称、设备机身号

本地部署平台配置文件bootstrap.ymlx中,需加上以下配置nfs:ftp path: D:\hi-ims-datalinsar,来储存雷达图像文件(已部署FTP)

IMG_256

4、雷达采集仪连接成功后,自动新增传感器,和站点信息,且数据正常传输

雷达采集仪传感器监测数据

拖车式雷达设备配置

【功能说明】新增拖车式雷达设备,新增设备、雷达基准站、工程即可,接入雷达设备后,自动新增传感器和雷达监测站信息

【操作用户】监测云用户

【操作说明】

1、新增雷达设备。进入物联中心-设备管理-设备列表,点击新增,在基础信息中填写正确的雷达采集仪地址、雷达用户名、雷达密码、雷达工程id、雷达设备id、经度、纬度,产品类型选择雷达采集仪,通讯协议选择HTTP。填写完成并保存,不用添加传感器,保存后,传感器自动新增。

IMG_256

IMG_256

2、新增工程。进入运维中心-平台管理-工程信息,点击新增工程,雷达类型选择便携式全景边坡雷达,填写好其他工程信息,点击保存,工程新增成功。

3、新增站点。进入运维中心-平台管理-站点信息,点击新增站点。站点类型选择雷达基准站,填写正确的经纬度信息,设备绑定已新增的雷达设备。点击保存,新增雷达基准站成功。

IMG_256

新建站点只需要建雷达基准站,监测站无需手动新增。数据上报后自动新增雷达监测站。

IMG_256

注:雷达监测点变更

如果监测点发生变更,在厂家平台变更后,需要选择监测云2.0雷达基准站,删除原来的设备保存,然后重新添加保存

IMG_256

删除原来所有设备后,重新绑定保存

IMG_257

4、监测数据。进入监测预警-监测数据,选择不同站点,切换图表/表格查看雷达监测数据。展现的数据包括:时间、站点名称、设备SN、形变加速度(mm/s²)、形变变化速率(小时)(mm/h)、累计形变(mm)。

  1. 进入地基雷达监测-边坡雷达监测平台。实时监测数据中展示实时的雷达图像、雷达信息、天气信息、关注区域参数、形变、速度、加速度和预警信息。当工程下有多个雷达时,点击雷达图像右侧“雷达”,可切换查看不同雷达的图像和数据。

历史数据展示的内容包括:雷达图像、关注区域参数、形变、速度、加速度。

预警记录展示每条预警的情况,包括;工程名称、雷达、区域、雷达坐标、CGCS2000坐标、告警等级、告警时间、处理状态、操作。

北微陀螺仪接桥梁版MS3X2B及四信DTU配置及调试

1.设备实物

ef3906d776407f870d050edb825f2cc

2.接线线序

芯线颜色 红色 黑色 黄色 绿色
接线定义 VCC GND RS485- A RS485-B

陀螺仪连接接收机

1、在平台建好vnet8类型设备站点,根据要求填写好设备名称,设备机身号和产品类型

平台新建接收机设备配置

2、平台新建一个DTU类型的设备,用来接收平台中接收机发送的陀螺仪数据

(注意陀螺仪要选择高频设备,数据设备上报模式)

新建陀螺仪DTU类型设备

3、接收机网络链路及系统配置485波特率

按照现场情况填写设备IP和端口,设备ID和KEY填入平台中陀螺仪DTU设备的ID和KEY

DTU网络传输链路配置

波特率调整为115200

配置RS485波特率

4、配置完成之后需要到运维中心新建站点才能查看到接收的数据

站点类型选择:转角监测站,设备绑定陀螺仪的DTU

新建站点

站点建立完成之后就可以到监测数据查看:结构响应监测—实时数据

查看实时数据

陀螺仪直连DTU

1、先在平台建立DTU站点,然后使用DTU配置工具进行配置,注意配置DTU的时候不要连接陀螺仪,会导致DTU登陆配置失败

工作模式配置好设备ID和信息输出接口

中心服务配置主服务器和备用服务器IP和端口

串口的波特率统一改成115200

2、配置修改之后,下发配置,选择手动重启或者设备重启

3、DTU配置配置完成之后需要到运维中心新建站点才能查看到接收的数据见

北微陀螺仪

1、调试

  • 默认地址01
  • 波特率115200 (出厂配置)
  • 上报方式:主动上传(10HZ) (出厂配置)/平台采集

2、通讯数据

TX:01 03 00 01 00 02 95 CB

说明如下表

代码 功能定义 备注
01 地址码
03 数据读取功能码
00 01 起始寄存器地址 存放X轴数据
00 02 读取寄存器个数
95 CB CRC校验 低字节在前

备注:黄色标准部分为非固定代码

RX:01 03 04 4E 16 4E 26 B8 A5,说明如下表所示:

代码 功能定义 备注
01 地址码
03 功能码
04 数据字节数
4E 16 X轴角度返回值 4E 16转化成十进制是19990,真实数据为

(19990-20000)/100=-0.1° ;

4E 26 Y轴角度返回值 4E 26转化成十进制是19990,真实数据为

(20006-20000)/100=0.06° ;

B8 A5 CRC校验 低字节在前
代码 功能定义 备注
01 地址码
03 功能码
04 数据字节数
4E 16 X轴角度返回值 4E 16转化成十进制是19990,真实数据为

(19990-20000)/100=-0.1° ;

4E 26 Y轴角度返回值 4E 26转化成十进制是19990,真实数据为

(20006-20000)/100=0.06° ;

B8 A5 CRC校验 低字节在前

3、平台展示

  1. 量程范围:

X轴(俯仰):±90°, Y轴(翻滚):±180°。对超量程的设备数据进行过滤。

  1. 传感器类型:ZHD_陀螺仪_BWCG
  2. 平台配置项
  • 地址码
  • 平台采集/设备上报
  1. 平台配展示
  • X轴角度
  • Y轴角度
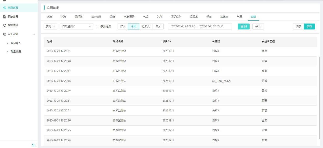
白蚁监测设备配置

【功能说明】新增白蚁监测设备和白蚁监测站点类型

【操作用户】监测云用户

【操作说明】

1、在物联中心-设备管理-设备列表中点击新增,产品类型选择“白蚁监测仪”,设备绑定的传感器类型为“SL_白蚁_HCCS”,点击保存,设备新增成功。

通信数据。展示内容包括:白蚁状态值、采集时间。

状态数据。展示内容包括:电池剩量百分比(%)、温度(℃)、湿度(%)、4G信号强度、固件版本、采集时间。

2、在项目管理-平台管理-站点信息中点击新增,站点类型选择“白蚁监测站”,绑定白蚁监测设备,点击保存,白蚁监测站新增成功。

GIS单工程大屏中会显示白蚁监测站,站点图标为蚂蚁形状。

3、进入大坝安全管理-监测数据,查看白蚁监测方法,选择站点,切换图表和表格,查看白蚁监测数据展示情况。

4、进入项目管理-预警管理-预警判据,选择白蚁监测站,设置预警规则,配置预警联系人并开启预警。

当设备上报预警数据触发预警,预警联系人会收到告警通知,平台也会有相应的预警记录。

多点位移计设备配置

【功能说明】新增多点位移计设备和白蚁监测站点类型

【操作用户】监测云用户

【操作说明】

1、在物联中心-设备管理-设备列表中点击新增,产品类型选择“MCU”,设备绑定的传感器类型为“ MCU_位移计”,点击保存,设备新增成功。设备正常上报数据,通信数据展示位移(mm)、频率模数(F)、采集时间。

  1. 进入运维中心-平台管理-站点信息,新增站点类型为“多点裂缝监测站”,绑定多点裂缝计。

  1. 进入监测预警-监测数据中,查看多点位移监测方法,切换图表、表格查看多点位移监测数据。表格展示多点位移的时间、站点名称、设备SN、传感器、位移(mm)、埋深(m)。

其中,埋深展示传感器中设置的“裂缝计埋深”

  1. 进入监测预警-数据分析-监测报表,可查看多点位移的日报、周报、月报。

黑龙江渗压计设备配置

【功能说明】新增SL_MCU_HLJ设备兼容

【操作用户】监测云用户

【操作说明】

1、在物联中心-设备管理-设备列表中,新增设备,产品类型选择“SL_MCU_HLJ”,绑定的传感器类型为“SL_渗压计_HLJ”,填写正确的传感器通道号和设备信息,保存。

2、设备上报数据后,进入项目管理-平台管理-设备列表,可查看设备上报的通信数据详情,上报的数据包括:坝体渗压(kPa)、坝后水位(m)、坝体水位(m)、绕坝渗流(m)、采集时间。

3、选择水利行业和工程,进入项目管理-平台管理-站点信息,新建“浸润线监测站”,绑定SL_MCU_HLJ设备。

设备上报数据后,进入大坝安全管理-监测数据,选择浸润线监测方法。可切换图表、表格查看上报的和龙江浸润线监测数据。展示的检测数据包括:时间、站点名称、设备SN、坝体水位(m)、坝体渗压(kPa)、坝后水位(m)、水面高程(m)、累计变化量(m)、绕坝渗流(m)、降深(m)。

4、选择水利行业和工程,进入项目管理-平台管理-站点信息,新建“浸润线监测体”,绑定SL_MCU_HLJ设备,在监测体配置中填写坝体剖面坐标配置和传感器配置。设备上报数据后,进入大坝安全管理-实时监测体-大坝浸润线监测体,查看监测体详情和实时监测数据上报情况。

5、进入统计分析-监测报表,查看浸润线监测报表,报表展示绑定黑龙江渗压计的浸润线监测站数据。

千寻设备配置

【功能说明】新增千寻_GNSS传感器兼容

【操作用户】监测云用户

【操作说明】

1、在物联中心-设备管理-设备列表中新增设备,传感器类型选择“千寻_GNSS”填写正确的传感器通道号和设备信息,保存。

2、进入运维中心-平台管理-站点信息,新增GNSS地表位移监测站,绑定千寻设备(站点不用绑定基准站),保存。

3、进入监测预警-监测数据中,在地表位移监测方法,查看千寻设备上报数据的展示情况。可切换图表、表格查看监测数据。

车辆荷载监测设备配置

【功能说明】通过荷载传感器进行采集,监测每一辆经过桥梁的车辆的重量

【操作用户】监测云用户

【操作说明】

1、新增设备

登录平台,选择桥梁监测行业和工程,进入物联中心-设备管理-设备列表,点击“新增”,产品类型选择“IPCS”,填写设备信息,传感器类型选择“QL_动态称重仪_BJLT”,点击“确定”,新增设备成功。

接入真机,或使用MQTT模拟上报数据,设备详情中通信数据和状态数据不展示上报的数据,设备详情的最新数据展示最新上报的数据。

2、新建站点

进入运维中心-平台管理-站点信息,点击“新增”,站点类型选择“车辆荷载监测站”,绑定车辆荷载设备,站点新增成功。

在GIS单工程大屏中,车辆荷载监测站的站点图标显示为下图所示。

点击大屏地图中的站点图标,可查看站点的监测数据。

3、监测数据

进入监测预警-作用监测,切换到车辆荷载监测方法。“今日车流量”中记录超重车辆的信息,实时抓拍展示经过抓拍设备拍到的所有车辆照片。

IMG_256

点击“今日车流量”中超载车辆的车牌,查看监测超载车辆的详细信息。

监测数据可切换图表、表格查看,点击“导出”,可将图表、表格导出查看。

时间:检测时间;模糊查询;默认展示今日;

是否超限:“重量>限重”即判定为超限;默认展示全部;

图表:以散点图的方式展示车辆重量的分布情况,横轴表示时间,纵轴表示车辆的重量。光标移入散点图中,展示散点所代表车辆的详细信息。

表格:展示各个被抓拍车辆的详细数据信息。

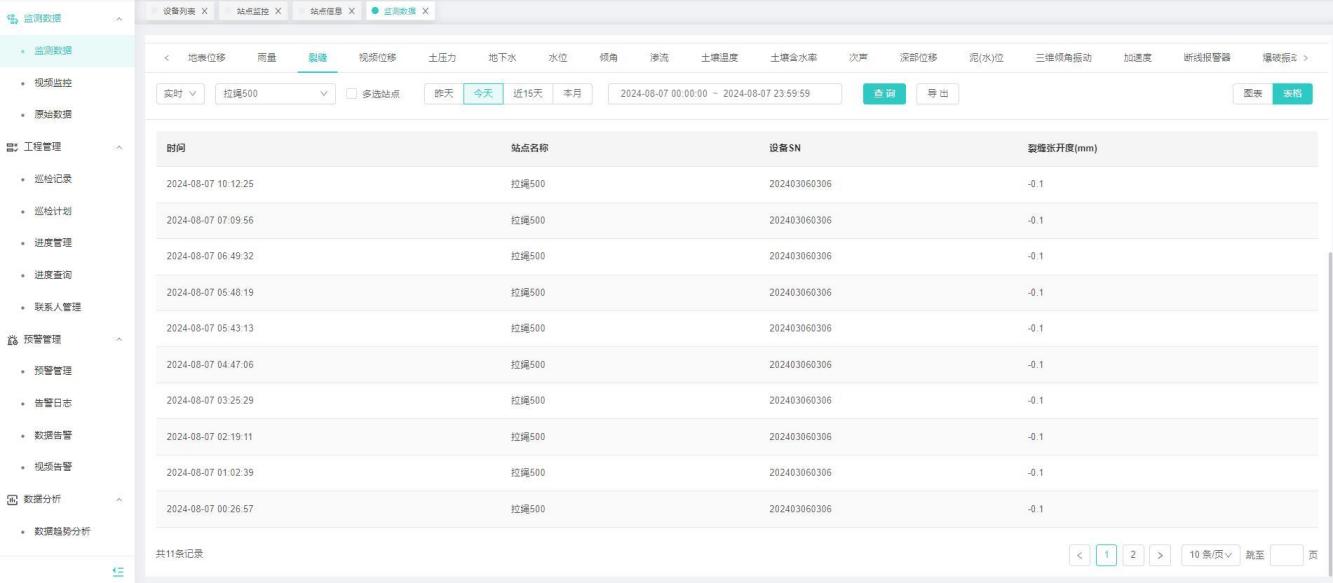
ZHD-拉绳式位移计500_JNBL配置

【功能说明】新增ZHD-拉绳式位移计500_JNBL兼容

【操作用户】监测云用户

【操作说明】

1、新增设备

登录平台,选择行业和工程,进入物联中心-设备管理-设备列表,点击“新增”,产品类型选择三旺串口服务器,绑定的传感器类型选择“ZHD_拉绳位移计500_JNBL”,传感器中填写正确的传感器地址。保存,新增设备成功。

2、新增站点

进入运维中心-平台管理-站点信息,新增站点,站点类型选择裂缝监测站,绑定拉绳500设备,新增站点。

3、监测数据

进入监测预警-监测数据,查看裂缝监测方法,可切换图表、表格查看监测数据,展示内容包括:时间、站点名称、设备SN、裂缝张开度(mm)。

4、监测报表

进入监测预警-数据分析-监测报表,切换到裂缝监测方法,可查看拉绳500的报表数据。展示内容包括:测点名称、原始值、本期偏移值、累计偏移值。

ZHD-超声波风速风向计_XDKJ配置

【功能说明】新增ZHD-超声波风速风向计_XDKJ兼容

【操作用户】监测云用户

【操作说明】

1、新增设备

登录平台,选择行业和工程,进入物联中心-设备管理-设备列表,点击“新增”,产品类型选择DTU,传感器类型选择“ZHD-超声波风速风向计_XDKJ”,传感器中填写正确的传感器地址。保存,新增设备成功。

2、新增站点

进入运维中心-平台管理-站点信息,新增站点,站点类型选择风速、风向监测站,绑定风速风向DTU设备,新建站点。

3、监测数据

进入监测预警-监测数据,查看裂缝监测方法,可切换图表、表格查看监测数据,展示内容包括:时间、站点名称、平均风向(°)、平均风速(m/s)。

4、监测报表

进入监测预警-数据分析-监测报表,切换到风速、风向监测方法,可查看超声波风速风向计的报表数据。展示内容包括:时间、风速、风向、平均风速、平均风向。

北斗三设备配置

【功能说明】北斗三短报文设备兼容

【操作用户】监测云用户

【操作说明】

1、新增DTU设备

登录平台,进入物联中心-设备管理-设备列表,点击“新增”,产品类型选择DTU,设备SN为上报设备的SN,绑定的传感器类型选择“北斗短报文终端传感器”,传感器中北斗设备类型选择“中转”。点击【保存】,新增设备成功。DTU设备作为中转设备,是虚拟设备不需要真机。

  1. 北斗中转RTU设备

1、在设备列表中,点击【新增】,产品类型选择【北斗中转RTU】,北斗中转id填写DTU的设备ID,绑定需要接收数据类型的传感器。北斗中转RTU用于接收展示DTU转发过来的数据。

2、注:对方平台推送数据时,北斗短报文3中,设备ID需改为,平台设备列表【北斗中转RTU】设备的ID即可。

如:BD,1000016154,11,2408300255,L4_NW_1+27.120,12.0*DD

1000016154是北斗中转RTU设备ID

3、新增站点

进入运维中心-平台管理-站点信息,根据RTU绑定的传感器新增不同类型的站点。

4、监测数据

进入监测预警-监测数据,查看不同站点类型的监测数据,可切换图表、表格查看监测数据。

5、监测报表

进入监测预警-数据分析-监测报表,可查看不同站点类型的监测报表。

6、北斗三协议传感器报文解析

设备平台推送数据到监测云平台

以泥位数据为例:

接收原报文十六进制 42442C313030303031363135342C31312C323430383236303931302C4C345F4E575F312B33312E3432302C31322E302A4445
需转换ASCII 编码格式 BD,1000016154,11,2408260910,L4_NW_1+31.420,12.0*DE
报文 解析
BD 协议头
1000016154 RTU设备 ID
11 数据包总数和序号
2408260910 时间/YYMMDDHHMM/年月日时分
L4_NW_1+31.420 (L4_NW_1):泥水位
(+26.750):泥石流发生时沟道内泥水面相对于基准面的高程(泥水位实时返回数据)
12.0 电压
*DE 校验
北斗三双向卡配置

【功能说明】北斗三双向卡预警广播兼容

【操作用户】监测云用户

【操作说明】

1、新增DTU设备

登录平台,进入物联中心-设备管理-设备列表,点击“新增”,产品类型选择DTU,设备SN为上报设备的SN,绑定的传感器类型选择“北斗短报文终端传感器”,传感器中北斗设备类型选择“中转”。点击【保存】,新增设备成功。DTU设备作为中转设备,是真机设备。

2、北斗中转RTU设备

1、在设备列表中,点击【新增】,产品类型选择【北斗中转RTU】,北斗中转id填写DTU的设备ID,绑定需要接收数据类型的传感器。北斗中转RTU用于接收展示DTU转发过来的数据。

2、设备接入正常后,状态数据正向显示数据。

VRS监测设备接入

【功能说明】VRS虚拟参考站解算,避免重复建设基准站,利用已建设的CORS站数据做基站给监测设备提供稳定的差分数据进行解算。

【操作用户】监测云用户

【操作说明】1、进入【物联中心】-设备管理-设备列表,点击新增,产品类型选择【虚拟参考站】,输入正确设备信息,经度、纬度、高程必填,填基站设备所在地点经纬度信息。

  1. 进入【运维中心】-平台管理-站点信息,点击新增,选择【GNSS地表位移基准站】,绑定对应设备,点击保存,基站不需手动下发任务,基站GNSS数据上报后自动获取应用坐标。基站每次变更基准坐标,基准任务显示变更记录。

  1. 监测站绑定基站,下发任务应用坐标,进行解算。

:设备管理中,启用状态【禁用】,则无法获取VRS数据流,【启用】则正常拉取数据流。

钢筋计传感器接入

【功能说明】新增【MCU_钢筋计】兼容

【操作用户】监测云用户

【操作说明】1、进入【物联中心】-设备管理-设备列表,点击【新增】,产品类型选择【MCU】,输入正确设备信息,绑定【MCU_钢筋计】传感器,点击【保存】

2、设备上报数据后,切换到【通信数据】,钢筋计通信数据展示正确

上报数据类型:频率模数/应力

应力计算公式:σ = k (F – F0) + b (T – T0)

 锚索计设备配置

【功能说明】新增锚索计兼容

【操作用户】监测云用户

【操作说明】1、进入物联中心-设备管理-设备列表,点击新增,产品类型选择“MCU”,传感器选择“MCU_锚索计”,传感器中填写正确的传感器地址和通道号(最多可支持6个通道号),保存,新增成功。

2、选择水利监测行业和工程,进入运维中心-站点信息,新增站点,站点类型选择应力监测站,绑定锚索计设备,保存,新增站点成功。

3、进入监测数据,选择应力监测方法,选择锚索计监测站,可切换图表、表格查看锚索计监测数据,包含:时间、站点名称、设备SN、应力。

站点信息

【功能说明】新增【应力监测站】,绑定钢筋计传感器设备

【操作用户】监测云用户

【操作说明】1、顶部导航栏选择【桥梁监测】行业,和工程,进入【运维中心】-平台管理-站点信息

2、点击【新增】,站点类型选择【应力监测站】,输入正确站点信息,绑定对应钢筋计传感器设备,点击【保存】

 MS100设备接入

【功能说明】新增MS100设备兼容

【操作用户】监测云用户

【操作说明】1、进入物联中心-设备管理-设备列表,点击“新增”,产品类型有“MS100-0103”和“MS100-0107”两种可选择,输入正确设备信息,保存,新增成功。

ADCP设备接入

【功能说明】新增ADCP设备兼容

【操作用户】监测云用户

【操作说明】1、进入物联中心-设备管理-设备列表,点击“新增”,产品类型选择【ADCP】,输入正确设备信息,绑定【SL_ADCP】传感器,点击【保存】

2、设备上报数据后,切换到【通信数据】,ADCP数据展示正确

BGW桥梁网关设备接入

【功能说明】新增BGW桥梁网关设备兼容

【操作用户】监测云用户

【操作说明】1、进入物联中心-设备管理-设备列表,点击“新增”,产品类型选择【BGW桥梁网关】,输入正确设备信息,绑定传感器,如【QL_静力水准仪_XMXD】,点击【保存】

2、设备上报数据后,切换到【通信数据】,通信数据展示正确

BGW桥梁网关设备 注册包:Reg KEY=“00000+设备机身号”,示例:Reg KEY=0000067657

设备列表

【功能说明】已有支持设备接入平台,设备详情状态信息如:【增】【删】【改】【查】

【操作用户】监测云用户

【操作说明】

登录平台,进入【物联中心】-设备管理-设备列表

点击【新增】按钮,输入正确的设备信息,点击“保存”,如下图所示:

注:设备SN为唯一值,不允许重名

选择终端类型后,自动展示终端类型关联的传感器以及该类型绑定的配置项的默认值

设备启用状态分为启用、禁用,禁用的设备无法正常接入及数据传输

【设备列表】详情一列,可支持查看、编辑、删除和更多【包含:远程控制、通信数据、状态数据、下发历史、固件升级】

4、详情页面有5个Tab页,分别为【设备详情、通信数据、状态数据、固件升级、升级记录】

注:设备详情页展示设备详细信息,包含鉴权信息cliendID跟key

通信数据,展示解析后的传感器监测数据及本地解算数据

状态数据,展示解析后的设备状态信息

固件升级,展示终端支持的固件及进行固件升级指令下发

升级记录,展示固件升级详情,如下图所示:

“更多”菜单下包含远程控制、通信数据、状态数据、下发历史、固件升级、升级记录,远程控制界面用于与终端设备进行交互

注:不同的终端类型远程控制界面略有区别

远程控制界面支持的远程控制协议在设备类型的协议管理Tab页进行绑定

MS451、HDS20X远程控制界面:

MS3x2远程控制界面:

MS331远程控制界面:

在设备列表界面,可勾选多个相同产品类型设备,进行批量操作,包含【批量改名、批量下发、批量分组、批量升级、解除异常】

远程控制
  • 设备列表

1、已有支持远程控制设备接入平台,连接状态为【在线】,控制状态为【在线】

  • 远程控制-设备状态

自动下发协议:进入【物联中心】-设备管理-设备列表,点击设备后的【更多】-远程控制-“设备状态”Tab页,点击【打开控制台】,右侧远程控制框,按照设定的远程控制协议【查询设备状态->查询定位信息】下发顺序,自动发送第一条协议,在配置时间内(如10s)收到回执后继续下发下一条远程控制协议;左侧根据右侧回执情况进行刷新展示

手动下发协议:进入【设备状态】Tab页面,点击【刷新】按钮,右侧按照设定的远程控制协议下发送一条协议,设备收到协议后进行回执;左侧根据右侧回执情况进行刷新展示

  • 远程控制-传感器配置

自动发送协议:切换到【传感器配置】Tab页面,右侧按照设定的远程控制协议,自动下发【获取传感器配置(快照)】协议。

将设备返回的【获取传感器配置(快照)】协议信息绑定传感器id自动绑定,且提供下拉菜单

点击【打开控制台】,点击【详情】,右侧按照设定的远程控制协议下发送【查询单个传感器配置】协议;左侧界面,根据右侧【远程控制】框内回执情况进行刷新展示

  • 远程控制-网络配置

1、自动发送协议:1、进入【网络配置】Tab页面,右侧按照设定的远程控制协议,自动下发【显示网络传输列表(快照)】协议;左侧根据右侧回执情况进行刷新展示

点击网络链路后的【详情】,右侧按照设定的远程控制协议下发送【查询一条网络传输配置】协议;左侧界面根据右侧【远程控制】框内回执情况进行刷新展示

  1. 手动下发协议:1、进入【网络配置】Tab页面,点击【刷新列表】按钮,右侧按照设定的远程控制协议下发送【显示网络传输列表(快照)】协议,设备收到协议后进行回执;左侧根据右侧回执情况进行刷新展示

  • 远程控制-系统配置

系统配置(常用协议

1、点击已配置前置协议的协议按钮,右侧框按照设定的远程控制协议,下发送一条前置协议(如:查询GNSS配置);右侧【远程控制】框内,根据设备回执情况进行展示

2、点击【发送】按钮,发送当前协议;右侧【远程控制】框内,根据设备回执情况进行展示 QQ截图20210928161942

通用配置

  1. 该页面选择协议下拉框内,显示该设备绑定的所有协议
  2. 选择协议,点击【发送】,右侧远程控制框内发送一条协议;右侧会根据设备回执情况进行展示

QQ截图20210928182414

  • 远程控制-下发历史
  1. 切换到【下发历史】Tab页,自动显示当天所有协议下发的远程控制消息记录

  1. 点击【下发历史】记录中的某一个消息记录后的【消息跟踪】,可以查看该协议的远程控制消息跟踪记录

批量控制

针对同类型设备,添加了批量处理功能。优先勾选同类型设备后,可对其进行批量修改名称、批量下发远程协议、批量进行分组、批量固件升级及批量解除设备异常状态等。

  • 批量下发
  1. 勾选设备列表同类型设备后,点击列表左上角【更多】-选择【批量下发】

  1. 进行设备批量远程控制指令操作

  • 批量升级

1、勾选设备列表同类型设备后,点击列表左上角【更多】-选择【批量升级】,选择固件包,消息类型,点击【发送】

  • 批量改名

1、勾选设备,点击设备列表左上角”更多”-选择【批量改名】,点击【下载模板】并编辑文档,输入对应sn及设备名称后再【导入】,即可更新文档中最新设备名称

  • 批量分组

勾选设备列表设备后,点击设备列表左上角”更多”进入批量分组弹框页;选择分组后,当前勾选设备均更新设备分组

  • 批量解除

【操作用户】超级管理员、普通管理员

【操作说明】

1、进入【物联中心】-设备管理-设备列表,选择同一产品类型设备,点击左上角【更多】

2、点击【解除异常】弹框提示继续解除操作后,勾选的设备异常状态,均被取消恢复正常状态,如下图所示:

:勾选不同产品类型,不能进行批量解除异常操作

四信DTU远程控制

【功能说明】对四信DTU设备的远程指令配置IP/端口和远程重启等功能

【操作用户】监测用户

【操作说明】

1、进入【物联中心】,设备管理-设备列表

2、产品类型选择DTU,【更多】下的【远程控制】进入远程控制界面

IMG_256

IMG_257

 设备上线离线机制优化

【功能说明】设备在线状态,根据监测数据中断时长判断,数据中断时长默认1小时,可以自定义。

【操作用户】监测云用户

【操作说明】1、进入【物联中心】-设备管理-设备列表,新增设备时,离线时长默认【1小时】,最大可支持7天(168小时)

2、设备离线后,还未超过离线时长,连接状态则显示【已连接】,自研设备控制状态显示【离线】

3、设备离线后,已超过离线时长,连接状态显示【未连接】,控制状态显示【离线】

4、若设备绑定的传感器内部存在【离线时长】,则以传感器离线时长为主;

5、设备列表,设备存在GNSS观测数据,LMS+,状态数据,高动态数据为判断离线标准,只要满足其中一项在线就表示在线;

6、视频设备、预警喇叭设备,离线后连接状态会立即同步更新;

7、设备上线或离线后,GIS大屏【设备接入、设备状态】、首页【设备数据统】、物联一览、设备列表设备统计、运维中心-站点监控、设备上线离线通知、监测报告设备统计均会正常更新。

8、多维设备(低功耗),设备已离线,还未超过离线时长,连接状态显示【已连接】,控制状态【离线】,下发远程控制指令,依然显示缓存信息。

产品管理

【功能说明】对设备类型、传感器类型、设备文档及固件库进行【增】【删】【改】【查】管理。

【操作用户】监测云用户

【操作说明】登录平台后,进入【物联中心】子模块【产品管理】

设备类型

【功能说明】产品类型详情展示及【增】【删】【改】【查】等操作

【操作用户】监测云管理员

【操作说明】点击“新增类型”按钮,显示创建设备类型弹窗,输入设备类型信息,点击“确定”按钮

注:类型名称为唯一值,不允许重名

新增设备类型时分为6个Tab页面:类型信息、传感器类型、状态项、协议管理、配置项、鉴权脚本

设备类型列表界面可进行设备类型详情查看、编辑和删除

注:设备类型系统预置常用的类型,传感器类型亦同

切换到传感器类型Tab,可对传感器类型进行新增、编辑、删除操作

设备文档

【操作用户】监测云用户

【操作说明】点击“新增目录”按钮,文档目录列表界面新增一个文档目录,输入目录名称后,点击回车键

注:文档目录名称为同一个父节点不允许重名

文档目录列表界面可进行文档目录编辑、添加子目录和删除操作

如:1、编辑 2、添加子目录 3、删除操作

选择文档目录,点击文档列表界面的“+新增”按钮,显示新增文档弹窗,输入文档信息,点击“确定”按钮

在文档列表界面,可对文档进行闲情查看、编辑、预览、下载、删除操作

软件库

【操作用户】监测云管理员

【操作说明】点击“上传软件”按钮,弹出上传软件窗口,填写软件信息后,点击“确定”按钮

注:相同版本软件名称不允许重名,固件命名遵循命名规范

软件库列表界面可进行固件详情查看、编辑、删除和下载操作

故障库

【操作用户】监测云用户

【操作说明】点击“新增故障目录”按钮,在故障目录列表界面新增一个故障文档目录,输入目录名称后点击回车键

注:故障目录名称为同一个父节点不允许重名

发表回复 0

您的电子邮件地址不会被公开。 这是必填项 *