3、大坝安全管理

大坝安全管理

【功能说明】水利行业大坝安全类型站点管理,如:查询,日、周、月、年度数据及报表

【操作说明】用户登录平台,选择【水利行业】【大坝安全管理】

实时监测体

【功能说明】实时监测体分析功能中,提供了大坝浸润线监测体、深部位移监测体两种解决方案,通过多个、多种设备组合,分析展示大坝浸润线剖面图、实时监测数据、深部位移等关键信息。

【操作说明】用户登录平台后进入【水利行业】【大坝安全监测】子系统 “实时监测体”,包含“大坝浸润线监测体”和“深部位移监测体”

(1)大坝浸润线监测体

会根据设备上报的数据进行计算,画出浸润线剖面图。选择大坝浸润线监测体,据站点、统计时间、统计类型,可以查看浸润线的详细信息、历史数据、浸润水位高度、库水位等数据。

大坝浸润线监测体的具体参数及剖面图展示可在【项管理】-【站点信息】-【监测体配置】中配置。

修改剖面高程以及坐标数据,浸润线剖面图可按照配置进行展示。

渗压计传感器参数可在此修改。

(2)深部位移监测体,展示深部位移剖面图和XY方向累计位移图

监测数据

【功能说明】水利行业大坝安全类型监测站点详情数据管理。

【操作说明】监测数据以图纸、图表、表格多种方式展示站点的监测数据,便于用户查看站点当前的监测数据,或者按照时间段查看站点的历史监测数据

  1. 工程图纸。工程信息中上传的工程图纸示意图在此展示,

  1. 监测数据。展示例如地表位移、气温、渗流、白蚁等站点的监测数据,可选择图表和表格两种展示方式。

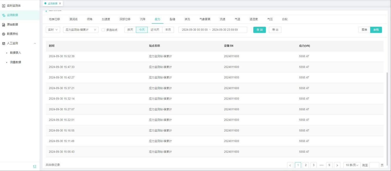
锚索计-应力监测数据

【功能说明】新增锚索计兼容

【操作用户】监测云用户

【操作说明】1、进入物联中心-设备管理-设备列表,点击新增,产品类型选择“MCU”,传感器选择“MCU_锚索计”,传感器中填写正确的传感器地址和通道号(最多可支持6个通道号),保存,新增成功。

2、选择水利监测行业和工程,进入运维中心-站点信息,新增站点,站点类型选择应力监测站,绑定锚索计设备,保存,新增站点成功。

3、进入监测数据,选择应力监测方法,选择锚索计监测站,可切换图表、表格查看锚索计监测数据,包含:时间、站点名称、设备SN、应力。

原始数据

【功能说明】水利设备终端上报的原始数据,未经过行业脚本转换

【操作说明】“点击”传感器查询各类型中断设备上报的原始数据信息,可切换图标与表格展示,包括传感器数据和GNSS观测数据

数据质检

【功能说明】水利设备终端上报的监测站数据进行质检

【操作说明】进入数据质检界面。点击新增质检任务,选择站点和质检时间段,设置质检参数及合格阈值,

在质检任务列表中可查看质检报告

人工监测

数据录入

【功能说明】针对工作人员在指定日期中收集到的仪器监测数据进行导入保存

【操作说明】”点击”导入,下载对应导入数据类型模板,将收集到的监测数据填入模板,再上传到数据录入中

测量数据

【功能说明】站点、监测类型、人工监测数据图表。

【操作说明】点击“查询”监测类型、监测时间查询获取人工监测数据图表

发表回复 0

您的电子邮件地址不会被公开。 这是必填项 *