8、项目管理

项目管理

平台管理

【功能说明】监测平台行业、工程、站点、设备管理如:【增】【删】【改】【查】及状态详情

【操作用户】监测云用户

【操作说明】登录平台后,进入【项目管理】子系统【平台管理】

工程信息

【功能说明】监测工程管理信息,如:新增、删除、编辑、查询、详情。建立在先有行业后有工程基础上

【操作说明】点击“工程管理”-“+新增”按钮,显示创建工程弹窗,输入工程信息,点击“确定”按钮

注:工程名称、工程编号为唯一值,不允许重名

新增工程时分为3个Tab页面:基本信息、工程图纸、解算配置

新增工程时需要关联行业、组织,仅组织下的用户能看到关联该组织的功能

3、工程列表界面可进行工程详情查看、编辑和删除,以及进行子工程的创建

注:已有子工程的工程无法添加站点,已有站点的工程无法创建子工程

一个父工程下最多只能有一级子工程,一级子工程数量不限

在工程配置的解算配置中,内置了坐标转换配置,是用于控制当前工程下,所有GNSS基准站和GNSS监测站的坐标转换方式,包括配置目标坐标系统、自定义投影、平面转换、高程拟合。坐标转换配置请在专业人士指导下填写!

坐标转换参数主要生效对象为:站点坐标、基准任务结果、解算中心调度结果、监测数据(地表位移)、监测报表(地表位移)等。

  • 坐标系统

【功能说明】平台的源坐标系固定为WGS84,这里的配置是用于修改目标坐标系。可选择:WGS84、CGCS2000。

【操作用戶】工程项目经理

【操作说明】点击【参考系】下拉框,选择目标坐标系统,默认值为CGCS2000。

  • 自定义投影

【功能说明】投影是坐标系统转换的基本配置,可以手动开启或关闭自定义投影,当自定义投影处于关闭状态时,系统将启用内置的投影参数进行坐标系统转换。

【操作用戶】工程项目经理

【操作说明】可以配置的参数有:投影、中央子午线、北向加常数、东向加常数、投影面高程、平均纬度、比例尺因子、X正方向、Y正方向。

当没有配置【中央子午线】时、【投影】配置将用于自动计算该工程所处的中央经线,切不可随意配置【中央子午线】,否则将导致坐标计算不准确或偏移较大,如需配置,请在专业人士指导下进行。

  • 平面转换

当前平台支持两种类型的平面转换方式:四参数转换、水平平差(TGO)转换,只能开启一种平面转换方式。

四参数

【功能说明】通过其他工具计算得到该工程的平面四参数,包括:平移北(m)、平移东(m)、尺度(K)、旋转,开启【四参数转换】将对站点平面坐标的(x,y)进行调整。

【操作用戶】工程项目经理

【操作说明】通过其他工具计算得到该工程的平面四参数,将配置输入并开启四参数转换按钮,系统将在坐标系转换结束后对平面坐标进行四参数转换。

水平平差(TGO)

【功能说明】通过其他工具计算得到该工程的平面四参数,包括:平移北(m)、平移东(m)、尺度(K)、旋转、原点北(m)、原点东(m),开启【四参数转换】将对站点平面坐标的(x,y)进行调整。

【操作用戶】工程项目经理

【操作说明】通过其他工具计算得到该工程的TGO水平平差参数,将配置输入并开启水平平差按钮,系统将在坐标系转换结束后对平面坐标进行水平平差转换。

  • 高程拟合

当前平台支持的高程拟合转换方式有:参数拟合(平面拟合)。

【功能说明】通过其他工具计算得到该工程的高程拟合参数,包括:A、B、C、X0(m)、Y0(m),开启【高程拟合】将对站点平面坐标的(h)进行调整。

【操作用戶】工程项目经理

【操作说明】通过其他工具计算得到该工程的【参数拟合-平面拟合】参数,将配置输入并开启高程拟合按钮,系统将在坐标系转换结束后对平面坐标进行高程拟合转换。

  • 角度转换工具

【功能说明】在GIS行业,提供专业的角度和弧度互转工具,为坐标转换配置提供辅助。

【操作用戶】工程项目经理

【操作说明】输入角度(度分秒)或者弧度,点击转换按钮进行互转

站点信息

【功能说明】水利监测站点管理信息,如:新增、删除、编辑、查询、详情。建立在先有工程后有站点基础上

【操作说明】进入【项目管理】-平台管理-站点信息,选择工程,点击【新增】,选择站点类型,输入正确站点信息,点击【保存】

注:站点名称为唯一值,不允许重名

站点状态分为正常、维护中,维护中的站点不参与报表统计

站点类型为GNSS基准站/GNSS监测站时,需填写2个Tab页面:基本信息、GNSS配置

站点类型为GNSS监测站/GNSS变化位移监测站且GNSS配置界面打开解算配置后,界面增加解算配置Tab,用于填写站点解算配置参数

行业、工程、站点的配置参数有效性优先级为站点>工程>行业

注:新增GNSS地表位移基准站,GNSS配置Tab页,需设置为【主基站】

GNSS地表位移基准站:进入【项目管理】-平台管理-站点信息,点击【新增】,站点类型选择【GNSS地表位移基准站】基准站类型选择“主基准站”,输入正确站点信息,点击【保存】

GNSS变化位移监测站:站点类型选择【GNSS变化位移监测站】,GNSS配置Tab页中需开启云端解算,【主基站】绑定对应基站,解算配置中需开启【静态监测】,输入正确站点信息,点击【保存】

3、站点列表界面可进行站点详情查看、编辑和删除

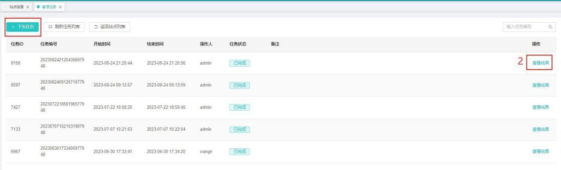
4、点击站点后的“任务”,进入解算任务手动下发界面,点击“+下发任务”,手动下发解算任务,解算完成后,点击“查看结果”,查看解算结果

注:基准站调用单点定位进行解算,监测站调用实时静态进行解算

站点监控

【功能说明】实时监控行业下站点状态信息,突出异常监控,按点排查

【操作说明】点击“站点监控”,展示站点监控数据汇总和列表,可进行导出,设备详情和异常原因查看

设备列表

【功能说明】已有支持设备接入平台,设备详情状态信息如:增、删、改、查

【操作说明】

登录平台,进入项目管理-设备管理-设备列表

点击【新增】按钮,输入正确的设备信息,点击“保存”,如下图所示:

注:设备SN为唯一值,不允许重名

选择终端类型后,自动展示终端类型关联的传感器以及该类型绑定的配置项的默认值

设备启用状态分为启用、禁用,禁用的设备无法正常接入及数据传输

【设备列表】详情一列,可支持查看、编辑、删除和更多【包含:远程控制、通信数据、状态数据、下发历史、固件升级】

4、详情页面有5个Tab页,分别为【设备详情、通信数据、状态数据、固件升级、升级记录】

注:设备详情:展示设备详细信息,包含鉴权信息cliendID跟key

通信数据:展示解析后的传感器监测数据及本地解算数据

状态数据:展示解析后的设备状态信息

固件升级:展示终端支持的固件及进行固件升级指令下发

升级记录:展示固件升级详情,如下图所示:

“更多”菜单下包含远程控制、通信数据、状态数据、下发历史、固件升级、升级记录,远程控制界面用于与终端设备进行交互

注:不同的终端类型远程控制界面略有区别

远程控制界面支持的远程控制协议在设备类型的协议管理Tab页进行绑定

MS451、HDS20X远程控制界面:

MS3x2远程控制界面:

MS331远程控制界面:

在设备列表界面,可勾选多个相同产品类型设备,进行批量操作,包含【批量改名、批量下发、批量分组、批量升级、解除异常】

1)RTU_SL设备接入配置(雨量计、水位计)

【操作说明】

新增设备

①现场设备设置相关IP、端口接入到隆安雨水情及大坝安全监测平台与监测云平台;

②用户账号登录隆安雨水情及大坝安全监测平台或监测云平台

③点击设备管理,进入设备列表界面,新增设备产品类型为RTU_SL,通讯协议为TCP协议、设备SN为真机设备SN号一致、通讯方式为GPRS/3G/4G,离线时为24

④根据设备所配备的传感器,编辑传感器列表,删除多余的传感器

编辑通用雨量计配置

编辑通用库水位计配置

设备添加后,过一段时间(约5分钟),点击设备详情,查看通讯数据,传感器通信数据按配置上报成功

2)MCU_SL设备接入配置(量水堰计、渗压计)

【操作说明】

新增设备

①现场设备设置相关IP、端口接入到隆安雨水情及大坝安全监测平台或监测云平台;

②用户账号登录隆安雨水情及大坝安全监测平台或监测云平台

③点击设备管理,进入设备列表界面,新增设备产品类型为MCU_SL,通讯协议为TCP协议、设备SN为真机设备SN号一致、通讯方式为GPRS/3G/4G,离线时长为24

④根据设备所配备的传感器,编辑传感器列表,删除多余的传感器

编辑直角三角形量水堰计(直报)配置

编辑直角三角形量水堰计(反算)配置

编辑矩形量水堰计(直报)配置

编辑矩形量水堰计(反算)配置

编辑通用渗压计配置

设备添加后,过一段时间(约5分钟),点击设备详情,查看通讯数据,传感器通信数据按配置上报成功

3)视频设备接入配置(华为视频设备)

【操作说明】

新增设备

①现场设备设置相关IP、端口接入到隆安雨水情及大坝安全监测平台或监测云平台;

②用户账号登录隆安雨水情及大坝安全监测平台或监测云平台

③点击设备管理,进入设备列表界面,新增设备产品类型为华为视频,通讯协议为HTTP协议、设备SN为真机设备SN号一致、通讯方式为GPRS/3G/4G,离线时长为2

④根据设备所配备的摄像头传感器,编辑传感器列表,若有多个摄像头传感器,请相应新增摄像头传感器

编辑摄像头传感器配置

新增视频监测站点

绑定设备

进入视频监控,查看视频播放数据

设备分组

【功能说明】设备分组详情展示及【增】【删】【改】【查】等操作

【操作用户】监测云用户

【操作说明】点击“设备分组”-“+新增”按钮,显示创建设备分组弹窗,输入设备分组信息,点击“确定”按钮。并且设备分组列表界面可进行设备分组详情查看、编辑和删除

注:群组名称为唯一值,不允许重名

消息通知

【功能说明】监控站点、设备等状态异常或变更状态时进行弹框通知

【操作说明】点击“消息通知”,展示异常状态通知

注:消息通知包含异常通知类型记录,覆盖搜索与详情

故障库

【功能说明】记录故障信息

【操作说明】点击“新增故障目录”按钮,在故障目录列表界面新增一个故障文档目录,输入目录名称后点击回车键。目录可新增到三级子目录。

注:故障目录名称为同一个父节点不允许重名

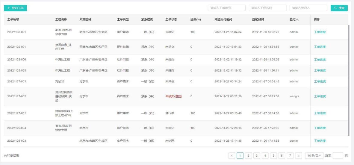
问题工单

【工单流程示意图】

【功能说明】设备、站点、软件等故障突发异常情况等由市销售或客户进行登记

【操作用户】监测云用户

【操作说明】1、用户登录系统后,点击“项目管理”进入平台管理子系统

2、点击“问题工单”,展示工单汇总和列表

【工单阶段】工单登记阶段

【操作用户】项目经理或市场销售或客户

【操作说明】”登记工单”输入问题工单信息

【工单流程】工单分派阶段

【操作用户】监测事业部技术人员

【操作说明】工单完成登记进入”工单分派”,可对完成登记工单进行分派

【工单流程】工单处理阶段

【操作用户】监测事业部技术人员或研究院技术人员

【操作说明】工单完成分派进入”工单处理”,可对完成分派工单进行处理

工单处理阶段,反馈当前进度时发送实时短信通知【工单登记人】

【工单流程】工单确认阶段

【操作用户】监测事业部技术人员

【操作说明】工单完成处理进入”工单确认”,(监测事业部技术部人员进行工单最终反馈结果)

通过则工单关闭并闭环工单

不通过则退回至工单处理,由【监测事业部技术部人员】or【研究院技术人员】修改解决方案后再次提交。

【工单流程】工单回访

【操作用户】交付运维中心-技术部客服人

【操作说明】工单已完成反馈确认进入”回访”,(交付运维中心技术部客服人员定期或对问题进行回访,记录回访信息)

需求工单

【功能说明】应用于客户或事业部对于平台提交需求时所进行的流程管理

【操作用户】监测云所有用户

【操作说明】用户登录系统后,点击“运维中台”进入运维中台子系统

点击“需求工单”,展示工单汇总和列表

a.需求工单-合同内流程

注:短信通知的手机号码,需在用户管理中配置

【工单流程】工单登记阶段

【操作用户】市场销售或项目经理

【操作说明】”登记工单”(根据市场需求进行工单登记)

【工单流程】工单核实阶段

【操作用户】产品经理

【操作说明】工单完成登记进入”工单核实”,可对完成登记的工单进行核实

【工单流程】工单确认阶段

【操作用户】产品经理

【操作说明】工单完成核实进入”工单确认”,可对完成核实的工单进行确认

【工单流程】工单评估阶段

【操作用户】工单评估人-(研究院-软件组)

【操作说明】工单完成确认进入”工单评估”,可对完成确认工单进行评估

【工单流程】工单受理阶段

【操作用户】产品经理

【操作说明】工单完成评估进入”工单受理”,可对完成评估工单进行受理

【工单流程】工单排期阶段

【操作用户】产品经理

【操作说明】工单完成受理进入”工单排期”,可对完成受理工单进行排期安排

【工单流程】工单处理阶段

【操作用户】工单处理人

【操作说明】工单完成排期进入”工单处理”阶段时发送实时短信通知【工单登记人】,而【工单处理人】可对完成排期的工单进行进度反馈

工单处理阶段进度变更时,发送实时短信通知【工单登记人】及【产品经理】

【工单流程】工单验证阶段

【操作用户】技术组

【操作说明】工单完成处理进入”工单验证”阶段时发送实时短信通知【工单登记人】,而【技术组】可对完成处理工单进行验证。工单验证完毕,实时短信通知【工单登记人】

b.需求工单-合同外流程

注:短信通知的手机号码,需在用户管理中配置

【工单流程】工单登记阶段

【操作用户】市场销售或项目经理

【操作说明】”登记工单”(根据市场需求进行工单登记)

【工单流程】工单核实阶段

【操作用户】产品经理

【操作说明】工单完成登记进入”工单核实”,可对完成登记的工单进行核实

【工单流程】工单批复阶段

【操作用户】产品总监

【操作说明】工单完成核实进入”工单批复”,可对完成核实工单进行批复处理

【工单流程】工单确认阶段

【操作用户】产品经理

【操作说明】工单完成流转批复进入”工单确认”,可对完成流转批复的工单进行确认

【工单流程】工单评估阶段

【操作用户】工单评估人

【操作说明】工单完成确认进入”工单评估”,可对完成确认工单进行评估

【工单流程】影响域分析阶段

【操作用户】产品经理

【操作说明】工单完成评估进入”影响域分析”,可对完成评估工单进行影响域分析

【工单流程】工单受理阶段

【操作用户】市场副总

【操作说明】工单完成分析进入”工单受理”,可对完成分析工单进行受理安排

【工单流程】工单排期阶段

【操作用户】产品经理

【工单说明】工单完成受理进入”工单排期”,可对完成受理工单进行排期安排

【工单流程】工单处理阶段

【操作用户】工单处理人

【操作说明】工单完成排期进入”工单处理”阶段时发送实时短信通知【工单登记人】,而【工单处理人】可对完成排期工单进行进度反馈

工单处理阶段进度变更时,发送实时短信通知【工单登记人】及【产品经理】

【工单流程】工单验证阶段

【操作用户】技术组

【操作说明】工单完成处理进入”工单验证”阶段时发送实时短信通知【工单登记人】,而【技术组】可对完成处理工单进行验证。工单验证完毕,实时短信通知【工单登记人】

联系人管理

【功能说明】应用于预警系统联系人通讯录管理,如:新增、编辑、删除、查询、详情

【操作说明】1、用户登录系统后,顶部导航栏选择【水利监测】行业和工程

2、进入【项目管理】-平台管理,点击“联系人管理”,展示联系人汇总和列表

3、①新增联系人配置、联系人姓名不可重复。②联系人可选择工程与不选择,如选择则只允许该工程使用该联系人,不选则为全局皆可使用该联系人。③可单独配置联系人只接收短信或邮件以及语音通知④可配置联系人启用与禁用

4、针对联系人可进行”增”、”删”、”改”、”查”操作

物联网卡管理

【功能说明】物联网卡管理,用于批量查询物联网卡到期时间,物联网卡(区域限制)状态。如:新增、查询、编辑、详情、解绑、导入、导出

【操作说明】

1、点击“项目管理”-“物联网卡管理”-“新增”按钮,显示新增弹窗,输入物联网信息和站点信息,点击“确定”按钮

2、点击“导入”按钮,可先下载模板,填写表格,其中物联网卡号是唯一的,再将已填写的本地文件上传;点击“导出”按钮,可按条件导出物联网卡记录。

3、列表界面可进行物联网卡记录的筛选查询、详情查看、编辑和解绑

基础数据

行业管理

【功能说明】监测行业管理信息,如:新增、删除、编辑、查询、详情

【操作说明】点击“+新增行业”按钮,显示创建行业弹窗,输入组织信息,点击“确定”按钮

注:行业名称,行业编码为唯一值,不允许重名

新增行业时分为3个Tab页面:行业信息、行业工程配置、解算配置

3、行业管理列表界面可进行行业详情查看、编辑和删除

4、选中某个行业,点击“+新增站点类型”按钮,显示创建站点类型弹窗,输入站点类型信息,点击“确定”按钮

注:站点类型名称为唯一值,不允许重名

新增站点类型时分为7个Tab页面:站点类型信息、选择设备类型、数据处理规则、行业站点配置、统计规则配置、测项配置、预警管理模板

(1.预警管理模板是否显示由站点类型信息-监测方法控制,必须选中监测方法,才会显示tab内容)

5、数据处理规则脚本编写

在数据处理规则标签页中,进行数据处理脚本的编写

脚本规则:

默认输出的数据处理方法:function formatData (jsonObj),

设备上报数据:jsonObj(包含站点类型配置项:初始的频率模式F0,以及上报的频率值f)

以地灾行业中的裂缝监测站点类型为例,该站点类型下的设备上传裂缝相关数据,将上传的频率值f减去配置项F0,以value = f –f0为处理结果

6、站点类型列表界面可进行站点类型编辑和删除

测项管理

【功能说明】监测平台基础数据,测项信息管理,如:增加、删除、编辑、查询、详情。属于各类型设备对应监测方法的基础数据

【操作说明】点击“测项管理”-“+新增”按钮,显示创建测项弹窗,输入测项信息,点击“确定”按钮

注:监测类型分为监测项、状态项、配置项、监测体配置项

测项区分是否必填,选择是时,有必填标识

3、测项列表界面可进行测项详情查看、编辑和删除

协议管理

【功能说明】监测平台基础数据,协议信息管理,如:增加、删除、编辑、查询、详情。协议用于远程管理设备,使设备终端执行相关协议命令

【操作说明】点击“协议管理”-“+新增”按钮,显示创建协议弹窗,输入协议信息,点击“确定”按钮

注:协议类型分为通配、扩展、透传,其中透传类型为MS331设备使用

协议字段中“是否自动下发”表示使用该协议的设备进入远程控制界面时是否下发该协议

3、协议列表界面可进行协议详情查看、编辑和删除

4、点击“绑定配置项”,为该协议绑定配置项,绑定的配置项在远程控制界面下发协议时作为填写项进行展示

字典管理

【功能说明】监测平台基础数据,字典信息管理,如:增加、删除、编辑、查询、详情。字典作用于平面基础数据字段、业务类型整合

【操作说明】点击“字典管理”,点击字典类型界面的“+新增”按钮,显示创创建字典类型弹窗,输入字典类型信息,点击“确定”按钮

注:字典类型编码为唯一值,不允许重名

3、字典类型列表界面可进行字典类型编辑和删除

设备类型

【功能说明】产品类型和传感器类型详情展示及【增】【删】【改】【查】等操作

【操作用户】监测云管理员

【操作说明】点击“新增类型”按钮,显示创建设备类型弹窗,输入设备类型信息,点击“确定”按钮

注:类型名称为唯一值,不允许重名

新增设备类型时分为6个Tab页面:类型信息、传感器类型、状态项、协议管理、配置项、鉴权脚本

设备类型列表界面可进行设备类型详情查看、编辑和删除

注:设备类型系统预置常用的类型,传感器类型亦同

切换到传感器类型Tab,可对传感器类型进行新增、编辑、删除操作

软件库

【操作用户】监测云管理员

【操作说明】点击“上传固件”按钮,弹出上传固件窗口,填写固件信息后,点击“确定”按钮

注:相同版本固件名称不允许重名,固件命名遵循命名规范

固件列表界面可进行固件详情查看、编辑、删除和下载操作

预警管理

预警判据

【功能说明】工程及站点告警配置及播报管理,如:新增配置、编辑配置、删除配置、查询配置、联系人配置、同步预警配置

【操作说明】单项预警进入监测预警 “预警管理”-“预警管理”

1、选择工程

2、选择需要配置预警阈值的站点

3、在弹出的窗体中,选择不同的预警等级

4、设置触发预警值必须达到的次数

5、设置判断方式(>、>=、<、<=、=)

6、预警阈值/变化量

注:相同的预警项,如x,在不同的预警等级中设置的判断方式,必须一致;

相同的预警项,如x,在不同的预警等级中设置阈值,必须满足:高等级的阈值必须大于低等级的阈值。

变化量:单次变化量=本次监测值-上次监测值

a.阈值配置

b.阈值预警

c.变化量预警

组合预警

1、点击组合预警Tab

2、点击新增,添加组合预警规则

3. 填写组合预警信息,选择监测方法、测项,保存

注:1、需先具备单项预警,才能选择其监测方法组合,至多选择4种监测方法;

2、组合预警测项预警阈值,与单项预警测项阈值一致。

4、若工程下存在单项预警,再新增或编辑组合预警,会自动关闭单项预警

注:例如1、组合预警1 包含有A/B 2个预警判据2个预警判据都触发告警,则组合预警方可产生告警播报,如其中1项未能满足预警判据,则不产生组合告警播报。

2、若同个站点同时拥有组合预警、预警判据,且都触发告警,则取最高等级告警赋予站点。

配置预警联系人

1、选择预警联系人配置 2.选择需要配置预警等级的联系人 3.选择对应的联系人

同步预警联系人

1、选择同步预警联系人 2.选择需要同步预警联系人的站点 3.预警联系人同步到其他站点

同步预警配置

1、选择同步预警配置2、选择站点类型或站点3、选择需要同步的站点4、该站点类型或站点同步到当前工程下同类型的站点

及时预警

开启与关闭及时预警影响预警是否自动发送或手动发送报警短信与邮件及喇叭播报,不影响其报警状态与日志(详见数据告警流程)

喇叭播报

工程中存在喇叭站点,在预警盘踞界面会出现“预警喇叭”选项。选择喇叭站点并保存,预警时会联动喇叭播报预警内容。

告警日志

【功能说明】展示告警后产生的日志内容详细信息

【操作说明】1、用户登录平台后进入【项目管理】子系统 “预警管理”-“告警日志”

单项预警日志列表,可进行日志详情查看、导出、及搜索

2、组合预警告警日志展示格式,可进行日志详情查看、导出、及搜索

推送管理

推送配置

【功能说明】应用于监测云平台向外平台推送监测数据管理,如:新增推送配置、编辑推送配置、删除推送配置、查询推送配置、推送配置详情

【操作说明】1、用户登录平台后,顶部导航栏选择【水利监测】行业,和工程

2、进入【项目管理】- 推送管理-推送配置,支持(新增、编辑、删除、修改、导入、导出、批量启用、批量禁用)

1、”推送管理”-”新增”推送配置

推送工程

【功能说明】应用于监测云平台向第三方平台推送监测数据,推送工程管理

【操作用户】工程项目经理

【操作说明】1、顶部导航栏选择【水利监测】行业,和工程,进入“项目管理”-推送管理-推送工程,支持(新增、编辑、删除、查看详情,可根据工程名称模糊搜索)

①行业配置推送地址配置项(用于该行业下工程配置推送地址)

②新增多路推送工程、对站点配置进行1对1或多对1推送

推送协议配置

【功能说明】制定推送协议命名规范,划分推送协议行业,推送日志新增结果统计,推送日志查询、推送日志导出功能。

【操作用戶】工程项目经理

【操作说明】

1、推送工程-新增推送配置,可选择所属行业找到对应推送协议,支持(新增、编辑、删除、查看详情,可根据“推送工程名称”搜索)

IMG_256

推送日志

【功能说明】工程推送日志结果统计,推送日志查询、推送日志导出功能

【操作用戶】工程项目经理

【操作说明】1、推送日志查询可通过推送工程,设备机身号,监测方法,推送结果,推送时间查询对应的推送日志,可支持批量导出

IMG_257

对方平台实时接收我方平台推送的解算数据

档案管理

【功能说明】档案管理员可对文件进行上传、编辑,其他人员可查看、下载已上传的文件

【操作说明】

1、点击“新增”按钮,文档目录列表界面新增一个文档目录,输入目录名称后,点击回车键;

  1. 文档目录列表界面可进行文档目录编辑、添加子目录和删除操作

IMG_256

3、选择文档目录,点击文档列表界面的“+新增”按钮,显示新增弹窗,输入文档信息,点击“确定”按钮

IMG_257

4、在文件列表界面,可对每个文件进行下载操作,对每个文档进行编辑、详情、删除操作;可多选进行批量删除

IMG_258

发表回复 0

您的电子邮件地址不会被公开。 这是必填项 *