2、桥梁监测预警
监测预警
监测数据
【功能说明】桥梁行业监测数据详情数据展示管理
【操作用户】监测用户
1.按照站点类型分为四类环境监测、作用监测、结构变化监测、结构响应监测
2. 监测数据默认不加载预警线,勾选【加载预警线】即可展示,
注:多选站点或者选择统计频率的情况下不展示预警线

环境监测
【功能说明】桥梁行业环境监测类型数据详情展示 如:查询、日查询、周查询、月查询、统计查询等
【操作说明】选择【桥梁行业】【监测预警】子系统 “环境监测”
监测数据 
作用监测
【功能说明】桥梁行业作用监测类型数据详情展示 如:查询、日查询、周查询、月查询、统计查询等
【操作说明】选择【桥梁行业】【监测预警】子系统 “作用监测”
监测数据 
车辆荷载
【功能说明】车辆荷载是监测每一辆经过桥梁的车辆的重量,通过荷载传感器进行采集,将采集到的车辆数据上传到平台进行
【操作说明】
- 新增设备
登录平台,选择桥梁监测行业和工程,进入物联中心-设备管理-设备列表,点击“新增”,产品类型选择“IPCS”,填写设备信息,传感器类型选择“QL_动态称重仪_BJLT”,点击“确定”,新增设备成功。

接入真机,设备详情中通信数据和状态数据不展示设备上报的数据,设备详情的最新数据展示最新上报的数据。
2)新建站点
进入运维中心-平台管理-站点信息,点击“新增”,站点类型选择“车辆荷载监测站”,绑定车辆荷载设备,站点新增成功。

在GIS单工程大屏中,车辆荷载监测站的站点图标显示为下图所示。

点击大屏地图中的站点图标,可查看站点的监测数据。

3)监测数据
进入监测预警-作用监测,切换到车辆荷载监测方法。“今日车流量”中记录超重车辆的信息,实时抓拍展示经过抓拍设备拍到的所有车辆照片。

点击“今日车流量”中超载车辆的车牌,查看监测超载车辆的详细信息。

监测数据可切换图表、表格查看,点击“导出”,可将图表、表格导出查看。时间展示检测时间;监测数据默认展示今日全部抓拍的车辆数据。
图表:以散点图的方式展示车辆重量的分布情况,横轴表示时间,纵轴表示车辆的重量。光标移入散点图中,展示散点所代表车辆的详细信息。

表格:展示各个被抓拍车辆的详细数据信息。

高频温度
【操作说明】 1、进入【物联中心】设备管理-设备列表,点击“新增”,产品类型选择“WG光纤温度采集仪”
2、在传感器列表点击“新增”,传感器类型选择“QL_光纤温度_CQWG”,点击“保存”,且支持增加多个传感器。

高频温度监测站:进入【运维中心】-平台管理-站点信息,点击【新增】,站点类型选择【高频温度监测站】,输入正确站点信息,且绑定设备,点击【保存】,站点绑定的设备数据正常传输。

进入【监测预警】-监测数据-作用监测,站点类型选择【高频温度】,选择站点和时间,点击查询,切换图表和表格查看数据展示。

实时数据图表/表格:
1、可按实时(1分钟)、10分钟、30分钟三个时间维度查询,仅限加载当前应变最新三个时间区间内的高动态实时数据(当前应变高频数据按20HZ显示),不作数据抽稀且不受检索条件的“选择时间段”限制。
1.1、X轴为时间轴
1.2、Y轴为高频结构温度实时采集值,单位按厂家上报单位(°)
1.3、支持列表数据导出

抽样数据图表/表格:
1、可按今天(实时)、周、本月、定义时间区域等时间维度,加载当前【高频结构温度】的高动态数据(数据作抽稀处理):天的按10分钟一个数据抽稀;周的按30分钟一个数据抽稀;月的按抽1个小时一个数据抽稀;
2、支持列表数据导出 
结构变化监测
【功能说明】桥梁行业结构变化监测类型数据详情展示 如:查询、日查询、周查询、月查询、统计查询等
【操作说明】选择【桥梁行业】【监测预警】子系统 “结构变化监测”
监测数据 
结构响应监测
【功能说明】桥梁行业结构响应监测类型数据详情展示 如:查询、日查询、周查询、月查询、统计查询等
【操作说明】用户登录平台选择【桥梁行业】【监测预警】子系统 “结构响应监测”
GNSS位移监测数据(GGA高频监测数据)
- GGS高频数据展示:默认加载【最近半小时】 最高频率的数据。(实时刷新)实时展示最近半小时的最新数据,不断刷新 抽稀展示:加载抽稀后的数据曲线,鼠标点击该时间点的数据的时候二次加载抽稀间隔内的详细高频原始图表。实时数据曲线图加通过缩/放“时间维度”区间来放大数据展示->通过时间区间筛选数据,可以动态整。
- 1天内区间展示策略为30秒一个维度数据查看逻辑;
- 1-7天内区间展示策略为1分钟一个维度数据查看逻辑;
- 大于7天区间展示策略为10分钟一个维度数据查看逻辑;
- 支持导出GGA数据。

静挠度监测数据
【功能说明】静力水准仪,是通过测量每个测点液位变化的高度,来计算沉降的,而压差式静力水准仪,是通过计算不同测点间的液体压力变化量,再除以液体的密度和重力加速度得到沉降值
【操作用户】监测用户
【操作说明】
1、进入【物联中心】点击【新增】,产品类型选择【DTU】,新增传感器,传感器类型为【QL_静力水准仪_FSHS】,新增多个水准仪,设置一个水准基站,多个水准测点。配置不同的传感器采集实时液位高度, 并可以配置每个设备的初始液位高度。
2、进入【运维中心】-平台管理-站点信息,点击【新增】,站点类型选择【静挠度监测站】,绑定设备,选择一个基站和测站,输入正确站点信息,点击【保存】
3、计算周期内的【基点和测点】数据进行处理计算沉降,操作步骤如下图:
计算公式:a、水准基点变化量=水准基点实时液位高度-水准基点初始液位高度
b、水准测点变化量=水准测点实时液位高度-水准测点初始液位高度
c、沉降监测量=水准测点变化量-水准基点变化量




动挠度监测数据
【功能说明】 思莫特视觉机器人设备属于非接触式位移变形监测设备,属于桥梁、边坡安全监测近年新型监测技术手段。在桥梁上主要监测【动挠度、位移】两测项,该传感器为高频数据,1秒钟传输20HZ,设备端支持可配置数据传输频率。
【操作用户】 监测用户
【操作说明】1、进入【物联中心】设备管理-设备列表,点击【新增】,产品类型选择【思莫特采集仪】
2、在传感器列表点击【新增】,传感器类型选择【QL_动挠度传感器_BJSMT】点击【保存】,再次新增传感器类型选择【QL_视觉位移传感器_BJSMT】,点击【保存】,支持增加多个传感器。
注:设备详情界面,需站点绑定该设备才会展示最新一条监测数据

1、动挠度位移监测站,所处位置可选择(左幅、右幅)

【功能说明】 思莫特视觉机器人设备属于非接触式位移变形监测设备,属于桥梁、边坡安全监测近年新型监测技术手段。在桥梁上主要监测【动挠度、位移】两测项。动挠度包含:实时数据、数据分析、主梁整体竖向变形曲线、主梁整体竖向空间变形分析。
【操作用户】 监测用户
【操作说明】 动挠度(纵向)监测
1、高频实时数据曲线图及列表数据展示(一般用用Y方向代表纵向位移)
1.1、可按实时(1分钟)、10分钟、30分钟三个时间维度查询,仅限加载当前最新三个时间区间内的高动态实时数据(当前挠度高频数据按20HZ显示),不作数据抽稀且不受检索条件的“选择时间段”限制。
1.2、X轴为时间轴
1.3、Y轴为挠度纵向实时采集值(即加载设备的Y值),单位按厂家上报单位(mm)
1.4、支持列表数据导出
2、挠度数据分析曲线图及列表数据展示
2.1可按今天(实时)、周、本月、定义时间区域等时间维度,加载当前挠度的高动态数据(数据作抽稀处理):天的按10分钟一个数据抽稀;周的按30分钟一个数据抽稀;月的按抽1个小时一个数据抽稀;
2.2支持列表数据导出
3、主梁整体竖向变形曲线图展示
3.1、挠度组变化曲线形成果展示(多个站点靶标数据放在同一个曲线图内同一个时刻加载数据)
3.2、X坐标代表距离,可用桩号+距离表示,从梁端到测点间的水平距离,已知参量,需要在“站点登记–挠度登记时”,增加“桩号+距离”两个字段,用于后续定位挠度组“测点”位置信息。
3.3、Y坐标代表挠度竖向位移,各个测点的位移值,用最新一刻数据,实时动态更新数据。(即动态曲线图)
4、主梁坚向空间变形分析
4.1、物理空间位置上反馈主梁在竖向空间位置上的形变情况;
4.2、X方向代表距离,同上3表述
4.3、Y方向代表竖向位移,同上3表述




实时数据:只展示当天的最新数据,可按照(1分钟)、10分钟、30分钟三个时间维度查询,仅限加载当前最新三个时间区间内的高动态实时数据(当前挠度高频数据按20HZ显示),不作数据抽稀且不受检索条件的“选择时间段”限制。表格/图表中均一致。

动挠度分析数据:时间维度选择【天的】,图表及表格中,均按10分钟一个数据抽稀展示。

动挠度分析数据:时间维度选择【一周】的,图表及表格中,均按30分钟一个数据抽稀展示。

动挠度分析数据:时间维度选择【近15天或月的】,图表及表格中,均按抽1个小时一个数据抽稀展示。
位移监测数据
【功能说明】 1、思莫特视觉机器人设备属于非接触式位移变形监测设备,属于桥梁、边坡安全监测近年新型监测技术手段。在桥梁上主要监测【动挠度、位移】两测项。位移包含:实时数据、数据分析。
2、位移(X\Y)两方向数据输出
1)、用于主梁面水平靶标X/Y两个方向测量
2)、其中Y方向(纵向),X方向表示顺桥方向位移。
【操作用户】 监测用户
【操作说明】1、顶部导航栏选择【桥梁监测行业】和工程,进入【运维中心】-平台管理-站点信息,点击“新增”,站点类型选择【视觉变化位移监测站】,输入正确站点信息,绑定设备,点击【保存】
2、切换到【监测预警】-结构响应监测-位移监测方法界面,查看界面展示
1、高频实时数据曲线图及列表数据展示
1.1、可按实时(1分钟)、10分钟、30分钟三个时间维度查询,仅限加载当前最新三个时间区间内的高动态实时数据(即X/Y高频数据按20HZ显示),不作数据抽稀且不受检索条件的“选择时间段”限制。
1.2、 X轴为时间轴
1.3、Y轴为挠度实时采集值(即加载设备的X/ Y实时位移值),单位按厂家上报单位(mm)
1.4、支持列表数据导出
2、实时数据分析曲线图及列表数据展示
2.1、 可按今天(实时)、周、本月、定义时间区域等时间维度,加载当前位移的高动态数据(数据作抽稀处理):天的按10分钟一个数据抽稀;周的按30分钟一个数据抽稀;月的按抽1个小时一个数据抽稀;
2.2、支持列表数据导出



结构响应振动监测数据
【操作用户】 监测用户
【操作说明】1、进入【物联中心】设备管理-设备列表,点击【新增】,产品类型选择【浙江博远采集仪】
2、在传感器列表点击【新增】,传感器类型选择【QL_高频振动_ZJBY】点击【保存】,且支持增加多个传感器。
注:设备详情界面,需站点绑定该设备才会展示最新一条监测数据


振动监测站:进入【运维中心】-平台管理-站点信息,点击【新增】,站点类型选择【振动监测站】,输入正确站点信息,且绑定设备,点击【保存】,站点绑定的设备数据正常传输。

实时数据图表/表格:
1、可按实时(1分钟)、10分钟、30分钟三个时间维度查询,仅限加载当前应变最新三个时间区间内的高动态实时数据(当前应变高频数据按20HZ显示),不作数据抽稀且不受检索条件的“选择时间段”限制。
1.1、X轴为时间轴
1.2、Y轴为应变实时采集值,单位按厂家上报单位(με)
1.3、支持列表数据导出

分析数据表格:
1、可按今天(实时)、周、本月、定义时间区域等时间维度,加载当前应变的高动态数据(数据作抽稀处理):天的按10分钟一个数据抽稀;周的按30分钟一个数据抽稀;月的按抽1个小时一个数据抽稀;
2、支持列表数据导出

频域分析:
1、反馈的是桥结构本身固有特性(类似材料的弹性模量)变化,一般用频域峰值表示。
2、桥梁频域根据不同桥梁类型划分1-9阶峰值数据。简支梁式桥一般有4阶峰值数据。
3、X方向代表是频率,单位是HZ。
4、Y方向代表是幅值,单位是m/s2(可与厂家单位同步或支持换算转换)。
5、频域数据曲线与时间反馈无关,是桥梁结构本质特征数据实时浮动、呈现。

频率对比:通过获得一阶或二阶频域峰值数据与桥梁结构本身固有特性“理论频值”进行对比。
1、 X方向:一阶或二阶频域和桥梁结构本身固有特性理论频域
2、Y方向:一阶或二阶频域采集值和桥梁结构本身固有特性理论频域已知参数(站点新增振动加速计增加“固有特性理论频域值”)
3、在工程–站点登记–增加“振动监测“站点时,新增子页面需求增加”固有特性理论频域值”。用于数据比对,如下图:


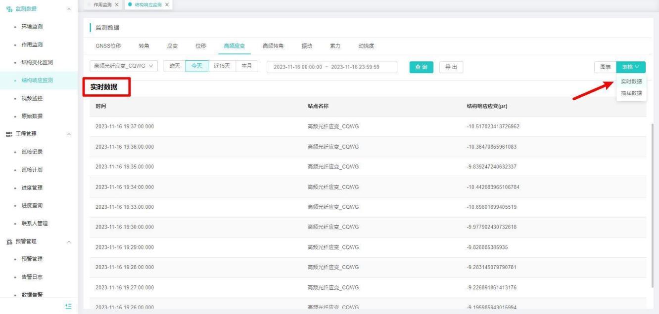
高频应变监测数据
【操作用户】 监测用户
【操作说明】 1、进入【物联中心】设备管理-设备列表,点击“新增”,产品类型选择“WG光纤应变采集仪”
2、在传感器列表点击“新增”,传感器类型选择“QL_光纤应变_CQWG”,点击“保存”,且支持增加多个传感器。

高频应变监测站:进入【运维中心】-平台管理-站点信息,点击“新增”,站点类型选择“高频应变监测站”,输入正确站点信息,且绑定设备,点击“保存”,站点绑定的设备数据正常传输。
进入【监测预警】-监测数据-结构响应监测,站点类型选择高频应变,选择站点和时间,点击查询,切换图表和表格查看数据展示。

实时数据图表/表格:
1、可按实时(1分钟)、10分钟、30分钟三个时间维度查询,仅限加载当前应变最新三个时间区间内的高动态实时数据(当前应变高频数据按20HZ显示),不作数据抽稀且不受检索条件的“选择时间段”限制。
1、X轴为时间轴
2、Y轴为应变实时采集值,单位按厂家上报单位(με)
3、支持列表数据导出

抽样数据图表/表格:
1、可按今天(实时)、周、本月、定义时间区域等时间维度,加载当前应变的高动态数据(数据作抽稀处理):天的按10分钟一个数据抽稀;周的按30分钟一个数据抽稀;月的按抽1个小时一个数据抽稀;
2、支持列表数据导出
高频转角监测数据
【操作用户】 监测用户
【操作说明】 1、进入【物联中心】设备管理-设备列表,点击【新增】,产品类型选择【DTU】
2、在传感器列表点击【新增】,传感器类型选择【ZHD_陀螺仪_BWCG】点击【保存】,且支持增加多个传感器。

高频转角监测站:进入【运维中心】-平台管理-站点信息,点击【新增】,站点类型选择【高频转角监测站】,输入正确站点信息,且绑定设备,点击【保存】,站点绑定的设备数据正常传输。

进入【监测预警】-监测数据-结构响应监测,站点类型选择高频转角,选择站点和时间,点击查询,切换图表和表格查看数据展示。

实时数据图表/表格:
1、可按实时(1分钟)、10分钟、30分钟三个时间维度查询,仅限加载当前应变最新三个时间区间内的高动态实时数据(当前转角高频数据按20HZ显示),不作数据抽稀且不受检索条件的“选择时间段”限制。
1.1、X轴为时间轴
1.2、Y轴为转角高频实时采集值,单位按厂家上报单位(°)
1.3、支持列表数据导出

抽样数据图表/表格:
1、可按今天(实时)、周、本月、定义时间区域等时间维度,加载当前应变的高动态数据(数据作抽稀处理):天的按10分钟一个数据抽稀;周的按30分钟一个数据抽稀;月的按抽1个小时一个数据抽稀;
2、支持列表数据导出。
钢筋计-应力监测数据
【功能说明】新增【MCU_钢筋计】兼容
【操作用户】监测云用户
【操作说明】1、进入【物联中心】-设备管理-设备列表,点击【新增】,产品类型选择【MCU】,输入正确设备信息,绑定【MCU_钢筋计】传感器,点击【保存】
2、设备上报数据后,切换到【通信数据】,钢筋计数据展示正确
上报数据类型:频率模数/应力
应力计算公式:σ = k (F – F0) + b (T – T0)


2、顶部导航栏选择【桥梁监测】行业,和工程,进入【运维中心】-平台管理-站点信息。点击【新增】,站点类型选择【应力监测站】,输入正确站点信息,绑定对应钢筋计传感器设备,点击【保存】

3、进入【监测预警】-监测数据-结构响应监测,切换到【应力】监测方法界面,选择站点和时间,点击查询,切换图表和表格查看数据展示。

视频监控
【功能说明】视频设备监控,AI识别告警,摄像头控制管理
【操作用户】监测用户
【操作说明】登录平台选择【桥梁行业】【监测预警】子系统
”监测数据”-”视频监控”,查看视频监控列表

点击视频卡片可查看实时监控、历史回放、历史图片,并可对摄像头进行配置管理 
原始数据
【功能说明】设备终端上报的原始数据,未经过行业脚本转换,原始通讯数据展示
【操作用户】监测用户
【操作说明】登录平台选择【桥梁行业】【监测预警】子系统“监测数据”-”原始数据”
展示设备上报的实时监测数据(非行业应用数据)与设备详情中通讯数据同步
2、展示GNSS观测数据统计,且可下载对应日期观测数据。与解算中心中观测数据同步 
工程管理
巡检记录
【功能说明】应用于站点监测巡查情况记录管理,如:增加,编辑,详情
【操作说明】记录该工程每次的巡检情况,方便异常问题后续跟踪和整改。

- 新增巡检记录
- 选择工程:选择对应的工程,点击“新增”按钮,工程信息会默认选取当前工程的名称,巡检人默认选取当前登录的用户;
- 填写基础信息:选择巡检类型,分别是日常巡检、汛期巡检和季度巡检。完成巡检日期、巡检内容、巡检结果、图片上传的填写;(注:当巡检结果为异常时,需要选取一名工程成员作为整改人)
- 勾选检查项:当选择了“巡检类型”后,页面下方巡检项会自动加载对应的“检查项列表”,创建人可以按实际情况勾选结果;
- 点击“确”按钮后,即可保存数据;

- 查看详情:
- 点击列表对应的巡检记录的“详情”按钮,则会弹出该记录的详细情况。


- 整改回复
- 当有巡检记录为“异常”状态,并且作为整改人的时候,该用户查看巡检记录时,会显示“整改回复”按钮;
- 点击“整改回复”按钮,进入整改回复页面,填写整改信息:整改日期、整改措施和附件资料,点击“处理完成”按钮;
- 巡检记录的状态变成“待确认”;



- 整改确认
- 作为该巡检记录的创建人,且存在巡检异常的情况,经过整改人的整改信息填写后,最后的流程会回到创建人手上。若整改人的整改措施达到满意效果,则可以在整改确认中选择“通过”来关闭当前问题;
- 若在整改确认中,整改措施不符合要求的时候,创建人可以选择“不通过”来将流程回退到给整改人;

巡检计划
【功能说明】应用于站点监测巡查计划管理,如:编辑计划
【操作说明】用户可以为该工程设定巡检计划,并统计出累积完成次数、本月计划次数、完成巡检次数、未完成次数和未启动次数。

进度管理
【功能说明】搭设工程站点信息汇报管理
【操作用户】监测云用户
【操作说明】1、用户登录系统后,点击“监测预警”进入监测预警子系统
2、点击“进度管理”,展示进度管理列表
①新增站点后。进度管理列表则自动在其工程下创建站点进度任务

【进度流程】进度填报阶段
【操作用户】进度登记人
【操作步骤】点击”操作”-”进度管理”进入进度任务填报(首次填报需先保存)

③踏勘阶段填报

基础阶段填报

设备安装填报

围栏安装填报

设备调试填报


【进度流程】进度审核阶段
【操作用户】进度审核员
所有阶段施工完成,对待审核阶段进度进行审核处理
踏勘阶段审核

基础阶段审核

设备安装阶段审核

围栏安装阶段审核

设备调试阶段审核

不通过时所有阶段均为不通过,待施工人员再次修改进度填报后再次进行审核

通过则所有阶段均为通过,进度施工完成上线

进度查询
【功能说明】应对各项目包、隐患点、站点进度查询详细统计
【操作说明】衔接进度管理,站点已完成施工阶段并审核
①查看监测云平台所有工程、子工程总项目统计及各阶段通过完成结果 
③站点进度完成统计

联系人管理
【功能说明】应用于预警系统联系人通讯录管理,如:新增、编辑、删除、查询、详情
【操作说明】1、用户登录系统后,顶部导航栏选择【水利监测】行业和工程
2、进入【项目管理】-平台管理,点击“联系人管理”,展示联系人汇总和列表

3、①新增联系人配置、联系人姓名不可重复。②联系人可选择工程与不选择,如选择则只允许该工程使用该联系人,不选则为全局皆可使用该联系人。③可单独配置联系人只接收短信或邮件以及语音通知④可配置联系人启用与禁用

4、针对联系人可进行”增”、”删”、”改”、”查”操作
预警管理
预警管理
【功能说明】工程及站点告警配置及播报管理,如:新增配置、编辑配置、删除配置、查询配置、联系人配置、同步预警配置
【操作说明】单项预警进入监测预警 “预警管理”-“预警管理”
1、选择工程
2、选择需要配置预警阈值的站点
3、在弹出的窗体中,选择不同的预警等级
4、设置触发预警值必须达到的次数
5、设置判断方式(>、>=、<、<=、=)
6、预警阈值/变化量
注:相同的预警项,如x,在不同的预警等级中设置的判断方式,必须一致;
相同的预警项,如x,在不同的预警等级中设置阈值,必须满足:高等级的阈值必须大于低等级的阈值。
变化量:单次变化量=本次监测值-上次监测值
|
|
|
|
a.阈值配置 |
|
|
|
|
|
b.阈值预警 |
c.变化量预警 |
组合预警
1、点击组合预警Tab
2、点击新增,添加组合预警规则
3. 填写组合预警信息,选择监测方法、测项,保存
注:1、需先具备项预警,才能选择其监测方法组合,至多选择4种监测方法;
2、组合预警测项预警阈值,与单项预警测项阈值一致。

4、若工程下存在单项预警,再新增或编辑组合预警,会自动关闭单项预警

注:例如1、组合预警1 包含有A/B 2个预警判据,2个预警判据都触发告警,则组合预警方可产生告警播报,如其中1项未能满足预警判据,则不产生组合告警播报。
2、若同个站点同时拥有组合预警、预警判据,且都触发告警,则取最高等级告警赋予站点。
配置预警联系人
1、选择预警联系人配置 2.选择需要配置预警等级的联系人 3.选择对应的联系人

同步预警联系人
1、选择同步预警联系人 2.选择需要同步预警联系人的站点 3.预警联系人同步到其他站点

同步预警配置
1、选择同步预警配置2、选择站点类型或站点3、选择需要同步的站点4、该站点类型或站点同步到当前工程下同类型的站点

及时预警
开启与关闭及时预警影响预警是否自动发送或手动发送报警短信与邮件及喇叭播报,不影响其报警状态与日志(详见数据告警流程)

喇叭播报
工程中存在喇叭站点,在预警盘踞界面会出现“预警喇叭”选项。选择喇叭站点并保存,预警时会联动喇叭播报预警内容。

桥梁GIS单工程大屏统计告警实时记录

如发现预警为虚假预警,设备问题或人为问题导致设备出现异常波动,致使平台触发预警,可手动在【数据告警】中进行手动消警处理


告警日志
【功能说明】展示告警后产生的日志内容详细信息
【操作说明】1、用户登录平台后进入【监测预警】子系统 “预警管理”-“告警日志”
单项预警日志列表,可进行日志详情查看、导出、及搜索。

2、组合预警告警日志展示格式,可进行日志详情查看、导出、及搜索。



数据告警
【功能说明】告警数据展示与统计,执行手动关闭预警播报
【操作说明】1、用户登录平台后进入【监测预警】子系统 “预警管理”-“数据告警”
站点触发预警时均记录在数据告警中,且站点未开启及时预警时可手动判断其预警是否为真实预警,是则报警,否则取消报警。


2、批量消警。在数据告警界面,点击批量消警,确认消警时长,批量消警成功。GIS大屏中的站点报警统计也同步消警。在消警时间内站点上报的数据超过设置的阈值,不会触发报警。

视频告警
【功能说明】视频设备抓拍管理
【操作说明】用户登录平台后进入【监测预警】子系统 “预警管理”-“视频告警”
视频抓拍触发AI识别告警,可对其进行处理

数据分析
数据趋势分析
【功能说明】针对测项进行未来趋势预测
【操作说明】①选择需要预测其趋势的工程②选择其需要预测趋势的站点及监测方法下的测项③选择日期及预测值进行预测

相关性分析
【功能说明】不同测项间的走势影响线性图展示
【操作说明】用户登录平台后进入【监测预警】子系统 “数据分析”
进入相关系分析,并通过选择不同站点的不同监测项,加载曲线图形,对比不同测项间的走势影响

监测体分析
【功能说明】监测体分析功能中,提供了挠度线性变化监测体,通过多个、多种设备组合,分析展示监测体数据变化情况关键信息。
【操作说明】用户登录平台后进入【监测预警】子系统 “数据分析”,选择静挠度监测体,选择数据时间范围和播放倍速,点击播放可查看监测体数据变化情况。

监测报表
【功能说明】统计当前工程下各类型站点的监测情况,能以日报/周报/月报的形式查询报表统计结果,并且导出报表,批量导出可导出当前所有监测类型的报表数据,并显示本次监测结论。
【操作用户】监测用户
【操作说明】登录平台选择【桥梁监测】行业-和工程,进入【监测预警】- 数据分析-监测报表
切换查看监测报表的站点类型,选择报表类型和统计时间,点击查询,报表中显示当前监测方法站点的数据。监测结论中统计最大值和最小值以及数据的质量合格情况。
点击导出,当前的监测报表以表格的形式导出;点击批量导出,导出当前报表类型和统计时间内的所有站点监测方法的报表。

监测报告
【功能说明】后台依据用户创建的监测报告模板,并对工程监测数据进行分析,输出工程的日/周/月/年监测报告。报告自动生成后,可以根据实际情况,对报告内容进行修改,也可以直接导出对应word格式的报告文档进行编辑修改。
【操作用户】监测用户
【操作说明】登录平台选择【桥梁行业】【监测预警】子系统 “数据分析”-“监测报告”
展示各个桥梁工程下的日/周/月/年监测报告,报告内容为:监测项目概况、监测依据、监测内容和测点布点、监测总体情况说明、监测结论与建议、监测数据(附图附表)
报告模板:
【功能说明】创建编辑报告模板

工程概况模板:

监测依据模板:

监测内容和测点布点模板:

监测结论与建议模板:

报告列表:
【功能说明】选择根据不同类型及时间筛选工程监测报告

报告预览:
【功能说明】在平台前端预览报告内容


报告编辑
【功能说明】在平台前端编辑已生成的报告内容

编辑工程概况:

编辑设计原则及编制依据:

编辑监测内容及布点:

编辑监测总体情况:

编辑监测结论与建议

下载报告
【功能说明】在平台下载已生成的报告

离散性分析
【功能说明】离散性分析:针对地矿、水利、桥梁GNSS数据分析特定简易算法模型,
反馈数据聚合程度,数据一直在离散线上合量徘徊
【操作说明】用户登录平台后进入监测预警-数据分析-离散性分析,选择站点和查看数据的时间,点击搜索,查看站点数据的离散点分部展示情况。
1、根据地矿、水利、桥梁监测数据的类型GNSS表面位移划分离散点曲线图;
2、如监测类型有多监测因子GNSS的XYZ三轴立体空间式展示。
3、主要划分显示:X/Y/Z三向空间轴;
4、空间坐标轴主要加载检索时间周期内的(默认先加一周内的数据)起始点、历史点、结束点的X/Y/Z实时数据;
5、鼠标移进点击某一个“点”数据时,可以有个小浮窗加载这个“点”的实时数据(X/Y/Z)和采集时间;

极值分析
【功能说明】分析监测项的极值最大和最小值,评估极值对安全是否超出影响
【操作说明】用户登录平台后,顶部导航栏选择【监测行业】,和工程,进入【监测预警】-数据分析-极值分析,选择数据时间和监测项,查看极大值和极小值的分布情况;
1、针对地矿、水利、桥梁监测数据的类型划极值分析曲线图;
2、X轴:显示各监测类型的监测因子的实时数据、Y轴:显示时间
3、曲线图加载显示检索时间段内的极值(最大和最小值)
4、鼠标移进点击某一个“点”数据时,可以有个小浮窗加载这个“点”的各监测项的实时数据(GNSS这类的多个监测因子以单个监测因子显示)和采集时间;
5、曲线图下面列表汇总极值:XXX~XXX时间检索周期,XXX监测类型项,极大值为XXX,极小值为XXX。上下峰值为:XXX;

统计报表
站点接入统计
【功能说明】统计桥梁各站点类型接入明细如:总数、在线数、在线率、异常原因
【操作用户】监测用户
【操作说明】登录平台选择【桥梁行业】【监测预警】子系统 “统计报表”-“站点接入统计”
展示各个桥梁工程下的所有站点运行情况,可以查看站点状态、查看站点设备总数、在线数、在线率等信息


点击【详情】,可以查看单个工程下各个站点状态信息,且可以导出相关信息。


统计报表
【功能说明】用于导出桥梁工程下的环境与作用监测及结构变化、结构响应监测数据报表,并可对其进行日、周、月、年度查询报表数据
环境与作用监测报表

结构响应监测报表

结构变化监测报表

健康评估
【功能说明】平台支持人工线下桥梁健康安全评估报告结果上传展示
【操作用户】监测用户
【操作说明】
- 用于记录评估桥梁的健康状况,能对列表中的评估状况进行新增、详情查看、编辑、删除,可根据搜索条件进行筛选,顶部卡片显示技术评估等级汇总情况
2、健康安全评估技术等级结果按公路桥梁(ABCDE五类)、城市桥梁(1,Ⅱ,III, IV, V五类)反馈及统计;按工程登记桥梁类型所属(公路桥、城市桥、其它)


人工监测
数据录入
【功能说明】针对工作人员在指定日期中收集到的仪器监测数据进行导入保存
【操作说明】用户登录平台后进入【监测预警】子系统 “数据分析”下”数据趋势分析”选择导入收集到的监测数据。

测量数据
【功能说明】针对导入的监测数据进行数据测量分析




