4、桥梁物联中心
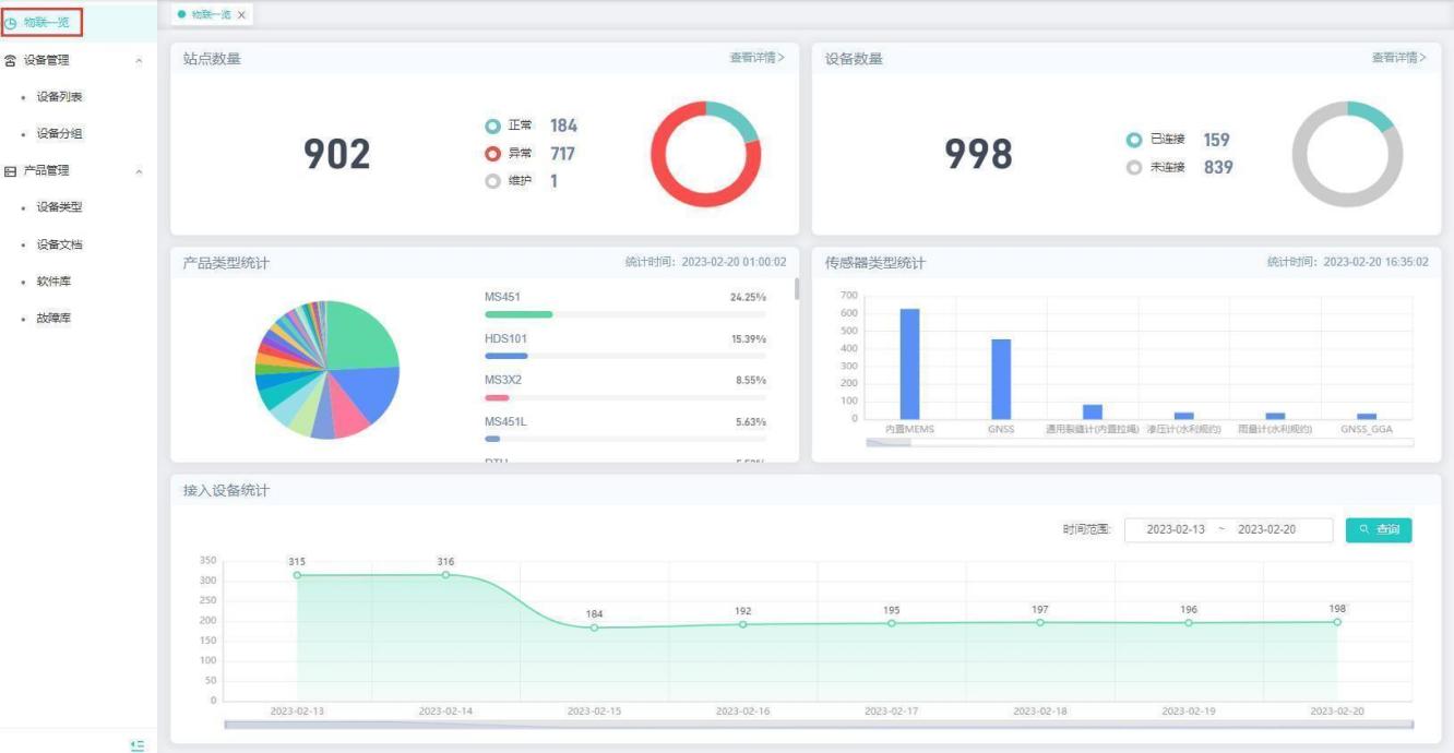
物联中心
物联一览
【操作用户】监测云用户
【操作说明】登录平台后,进入【物联中心】-物联一览,以报表方式展示物联数据统计信息。

设备管理
设备列表
【功能说明】已存在,并兼容协议的设备接入平台,设备:【增】【删】【改】【查】配置管理
【操作用户】监测用户
【操作说明】
登录平台,进入【物联中心】-设备管理-设备列表
点击【新增】按钮,输入正确的设备信息,点击“保存”,如下图所示:
注:设备SN为唯一值,不允许重名
选择终端类型后,自动展示终端类型关联的传感器以及该类型绑定的配置项的默认值
设备启用状态分为启用禁用,禁用的设备无法正常接入及数据传输

【设备列表】详情一列,可支持查看、编辑、删除和更多【包含:远程控制、通信数据、状态数据、下发历史、固件升级】
4、详情页面有5个Tab页,分别为【设备详情、通信数据、状态数据、固件升级、升级记录】

设备分组
【功能说明】设备分组详情展示及【增】【删】【改】【查】等操作
【操作用户】监测云用户
【操作说明】点击“设备分组”-“+新增”按钮,显示创建设备分组弹窗,输入设备分组信息,点击“确定”按钮。并且设备分组列表界面可进行设备分组详情查看、编辑和删除
注:群组名称为唯一值,不允许重名

设备配置
桥梁GGA设备配置
【功能说明】针对桥梁MS3X2B设备的接入步骤,由设备接入、站点绑定、监测数据展示3部分组成。
【操作说明】
登录平台,进入【物联中心】-设备管理-设备列表
桥梁GGA设备通电后,自动注册至监测云现网平台

第一步:远程控制配置自注册至平台的MS3X2B设备网络链路,增加挂靠基站链路;配置如下

第二步:远程控制配置自注册MS3X2B设备数据推送网络链路;配置如下,数据类型为GGA类型传输



以上步骤完成配置后,查看设备详情中传感器上报数据是否正常

桥梁工程下新增响应位移监测站绑定自注册GGA设备

下发基准任务获取响应位移监测站坐标



结构响应监测数据,GNSS位移监测中,展示响应位移监测站实时数据,【最近半小时】中,按照1秒钟20HZ数据进行展示

【今天】按照30秒一条GGA数据抽稀展示

非GGA设备配置
【功能说明】针对桥梁设备的接入步骤,由设备接入、站点绑定、监测数据展示3部分组成。
【操作说明】
登录平台,进入【物联中心】-设备管理-设备列表
桥梁传感器已通过R485协议接入DTU设备,且DTU设备已配置平台IP及端口
①通过串口将DTU服务器设备连接至本地 
点击”读取配置”,成功读取后,即可对参数进行配置
快速配置,按照如下截图,配置相关信息,其他配置项默认
工作协议:PROT(默认)
设备ID:用于区别DTU(必须是八位数)
手机号码:用于电话号码管理(必须是十一位数)
信息输出接口:配置为485
主服务中心和备份中心,及对应端口:一般配置一样。
串口波特率:目前应用的传感器波特率均为9600,因此配置为9600.(若后期有115200,则根据实际应用进行配置)
网络模式,PPP认证:AUTO(默认)
”中心服务”可对接入地址进行配置
”串口”可对已通过接入到DTU的传感器进行配置
DTU终端配置完成后手动下发配置,并重启 
一、注意事项
F2A16 DTU为全网通4GDTU,可兼容2G/3G网络。
F2A16 DTU可同时接RS232信号和RS485信号。
DTU配置是有时间限制的,最好在5分钟内完成配置
新增DTU设备,绑定桥梁传感器


通信数据,解析传感器上报的原始数据

桥梁工程下,新增静挠度监测站,绑定桥梁DTU静力水准仪设备

绑定设备后自动带出设备下的基点与测点,可通过剔除勾选来决定最终监测数据展示的测点

监测数据结构响应监测中,“静挠度”界面,展示静力水准仪测点数据

桥梁GIS单工程大屏,亦可展示其动挠度详细信息,以及播放速率

浙江博远采集仪设备配置
1、双击安装程序BY-IPCS_2.1.1.exe ,双击开始进行安装。(建议安装路径选择非系统盘)


2、安装完成后双击桌面图标,软件会提示进行软件注册,负值软件编号,将软件编号交给厂家技术工程师,厂家提供软件注册文件后导入,软件即可正常使用。

站点添加
1、【系统配置】——【采集仪(DTU)配置】——【新增】,进入采集仪设备添加界面。

2、勾选设备型号:D3000B,下一步。
|
型号选择D3000B 3、填写采集卡IP和端口。采集卡IP可以从设备机身的标签上获取,端口默认8888。
|
|
4、填写设备编码和设备ID。设备编码可随意命名,建议统一设置为:EDVID+ID。(例如,某采集卡在设备机身上的ID为4000230317081322502,则设备编码设置为:EDVID:4000230317081322502)。设备ID:即采集卡ID,自设备机身标签上获取。 |
|
|
|
5、采集仪添加完成后会在【测点配置】下自动带出该采集模块的通道。 |
![]()
采集仪添加完成 |
测点配置
1、动挠度
1、勾选需要配置的通道(系统内通道其实编号为0,即0通道对应采集卡的第一通道),点击【修改】。

2、填写测点名称,安装位置等信息后点击下一步。

测点名称:参照设计方案中对每个传感器测点的命名。
安装位置:实际的安装位置
实际单位:V (注:传感器输出的模拟量单位)
工程单位:mm (注:监测项最终需要输出的物理量单位)
监测类型:挠度
3、填写如下配置项后直接点击保存。

计算公式:X/灵敏度+计算公式常量-初始值
是否启用:是
是否上传:是
灵敏度:填写测试结果中第4档灵敏度数值 (注:1、设备发货时有测试结果表单,灵敏度自测试结果表单获取。2、振动法测动挠度时传感器需要调到第4档。)
2、振动加速度
1、勾选需要配置的通道(系统内通道其实编号为0,即0通道对应采集卡的第一通道),点击【修改】。

2、填写测点名称,安装位置等信息后点击下一步。

测点名称:参照设计方案中对每个传感器测点的命名。
安装位置:实际的安装位置
实际单位:V (注:传感器输出的模拟量单位)
工程单位:m/s² (注:监测项最终需要输出的物理量单位)
监测类型:横向加速度(X、Y轴为横向加速度,Z轴为竖向加速度)
3、填写如下配置项后直接点击保存。

计算公式:X/灵敏度+计算公式常量-初始值
是否启用:是
是否上传:是
灵敏度:填写测试结果中第1档灵敏度数值 (注:1、设备发货时有测试结果表单,灵敏度自测试结果表单获取。2、振动加速度传感器调整到第1档。)

设备添加完成,注意区分横向、竖向
注意:双向加速度传感器是两个单向振动传感器按不同振动方向组合,占用2采集仪的两个通道,三向振动传感器同理占用三个通道。
3、索力
1、勾选需要配置的通道(系统内通道其实编号为0,即0通道对应采集卡的第一通道),点击【修改】。

2、填写测点名称,安装位置等信息后点击下一步。

测点名称:参照设计方案中对每个传感器测点的命名。
安装位置:实际的安装位置
实际单位:V (注:传感器输出的模拟量单位)
工程单位:KN (注:监测项最终需要输出的物理量单位)
监测类型:索力
3、填写如下配置项后直接点击保存。

计算公式:X/灵敏度+计算公式常量-初始值
是否启用:是
是否上传:是
灵敏度:填写测试结果中灵敏度数值 (注:1、设备发货时有测试结果表单,灵敏度自测试结果表单获取。)
需添加吊索配置参数
4、站点配置
配置如下:【站点配置】——【添加】,添加完成站点后进行采集板卡关联。



数据转发
下载安装包
1、登录网址:ops.bydziot.com:3000,登录账户:admin 登录密码:admin123! 。在【安装包】中下载以下几个程序,注意新建一个文件夹,将下载的几个程序都放置在该文件夹下面。


安装python
1、打开命令提示框,以管理员身份运行。

2、输入以下代码:
cd D:\IPCS_DATE_2
# D:\IPCS_DATE_2为下载的五个安装包的存储路径
d:
D:\IPCS_DATE_2>installEnvironment.bat
# D:\IPCS_DATE_2>为下载的五个安装包的存储路径

3、根据命令提示框一直进行按任意键继续的操作,直到最后命令提示框自动退出。

安装StandardMultiple
1、解压StandardMultiple压缩包。
2、打开命令提示框,以管理员身份运行。

3、输入以下代码:
cd D:\IPCS_DATE_2\StandardMultiple
d:
registrationServices.bat




转发配置
浏览器输入网址:http://127.0.0.1:15672/ ,账号密码:guest/guest 。(这个一般用不到,收藏下来方便出现故障排查)
多路转发配置(支持MQTT、HTTP协议)
1、登录:http://127.0.0.1:4000/index/config ,账号密码:admin/admin123! 。 
RabbitMQ数据来源
IP地址:127.0.0.1
端口:56XX
网页端口:15672
用户名称:ipcs
用户密码:ipcs123!
虚拟主机:/ipcs
MQTT转发项目

唯一标识:任意命名
转发名称:任意命名
实时数据:开启 (#对接中海达监测2.0选择开启)
实时数据Topic: /api/data/vibrate/snapshot (#接收数据的平台方提供)
特征值数据:开启 (#对接中海达监测2.0选择开启)
特征值数据topic: /api/data/eigenvalue (#接收数据的平台方提供)
IP地址:114.215.18.146 (#数据接收方平台MQTT链路地址)
端口:218XX (#数据接收方平台MQTT链路地址)
客户端ID:监测云平台设备ID
用户名称:监测云平台设备ID
用户密码:监测云平台设备key
Qos:待填写
数据降频:默认频率 (#)
平台
HTTP转发项目

唯一标识:任意命名 (#多路转发的时候每个都要设置为不相同的)
转发名称:任意命名
实时数据:按需开启
实时数据URL:接收方平台HTTP链路IP (#注意IP要加http://)
特征值数据:按需开启
特征值数据URL:接收方平台HTTP链路IP (#注意IP要加http://)
数据降频:默认频率 (#)
产品管理
设备类型
【功能说明】产品类型详情展示及【增】【删】【改】【查】等操作
【操作用户】监测云管理员
【操作说明】点击“新增类型”按钮,显示创建设备类型弹窗,输入设备类型信息,点击“确定”按钮
注:类型名称为唯一值,不允许重名
新增设备类型时分为6个Tab页面:类型信息、传感器类型、状态项、协议管理、配置项、鉴权脚本

设备类型列表界面可进行设备类型详情查看、编辑和删除
注:设备类型系统预置常用的类型,传感器类型亦同

切换到传感器类型Tab,可对传感器类型进行新增、编辑、删除操作

设备文档
【功能说明】设备文档上传及【增】【删】【改】【查】等操作
【操作用户】监测云用户
【操作说明】点击“新增目录”按钮,文档目录列表界面新增一个文档目录,输入目录名称后,点击回车键
注:文档目录名称为同一个父节点不允许重名

文档目录列表界面可进行文档目录编辑、添加子目录和删除操作
如:1、编辑 2、添加子目录 3、删除操作

选择文档目录,点击文档列表界面的“+新增”按钮,显示新增文档弹窗,输入文档信息,点击“确定”按钮

在文档列表界面,可对文档进行闲情查看、编辑、预览、下载、删除操作

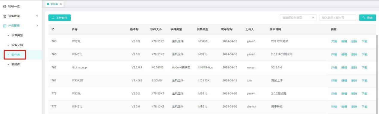
软件库
【操作用户】监测云管理员
【操作说明】点击“上传固件”按钮,弹出上传固件窗口,填写固件信息后,点击“确定”按钮
注:相同版本固件名称不允许重名,固件命名遵循命名规范

固件列表界面可进行固件详情查看、编辑、删除和下载操作。

故障库
【操作用户】监测云用户
【操作说明】点击“新增故障目录”按钮,在故障目录列表界面新增一个故障文档目录,输入目录名称后点击回车键
注:故障目录名称为同一个父节点不允许重名




