5、巡检记录
巡检记录
【功能说明】作用于现场设备巡查、检查、排查等一系列工作
【操作说明】用户登录平台,选择【水利行业】【巡检记录】【巡检管理】
检查项管理
【功能说明】巡检项管理信息配置,如:增加、删除、编辑、查询、详情
【操作说明】点击“巡检项管理”,展示巡检项管理配置列表,巡检类型包括季度巡检、月度巡检、日常巡检
注:巡检项管理包含日期类型巡检项记录,覆盖”增””删””改””查”

-
增加检查项
- 选择对应的巡检类型;
- 点击“新增”按钮,输入巡检内容,输入巡检结论;

-
操作检查项
- 点击列表对象,可以操作查看详细、编辑、删除;

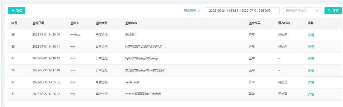
巡检管理
【功能说明】应用于站点监测巡查情况记录管理,如:增加,编辑,详情
【操作说明】记录该工程每次的巡检情况,方便异常问题后续跟和整改。

-
新增巡检记录
- 选择工程:选择对应的工程,点击“新增”按钮,工程信息会默认选取当前工程的名称,巡检人默认选取当前登录的用户;
- 填写基础信息:选择巡检类型,分别是日常巡检、月度巡检和季度巡检。完成巡检日期、巡检内容、巡检结果、图片上传的填写;(注:当巡检结果为异常时,需要选取一名工程成员作为整改人)
- 勾选检查项:当选择了“巡检类型”后,页面下方巡检项会自动加载对应的“检查项列表”,创建人可以按实际情况勾选结果;
- 点击“确定”按钮后,即可保存数据;

-
查看详情:
- 点击列表对应的巡检记录的“详情”按钮,则会弹出该记录的详细情况。


-
整改回复
- 当有巡检记录为“异常”状态,并且作为整改人的时候,该用户查看巡检记录时,会显示“整改回复”按钮;
- 点击“整改回复”按钮,进入整改回复页面,填写整改信息:整改日期、整改措施和附件资料,点击“处理完成”按钮;
- 巡检记录的状态变成“待确认”;



-
整改确认
- 作为该巡检记录的创建人,且存在巡检异常的情况,经过整改人的整改信息填写后,最后的流程会回到创建人手上。若整改人的整改措施达到满意效果,则可以在整改确认中选择“通过”来关闭当前问题;
- 若在整改确认中,整改措施不符合要求的时候,创建人可以选择“不通过”来将流程回退到给整改人;

巡检计划
【功能说明】应用于站点监测巡查计划管理,如:编辑计划
【操作说明】用户可以为该工程设定巡检计划,并统计出累积完成次数、本月计划次数、完成巡检次数、未完成次数和未启动次数。
