6、用户中心
组织管理
【功能说明】机构核心,权限基础管理。只允许超级管理员对其进行增、删、改、查操作
组织管理用于添加系统可复用组织,可被多个部门、多个角色和多个用户关联
【操作说明】选择“组织管理”模块菜单,进入组织管理界面
点击“+新增”按钮,显示创建组织弹框,输入组织编码和组织名称,选择启用状态,点击确定
注:组织编码、组织名称为唯一值,不允许重名
组织编码可以为英文、数字,必须以英文字母开头
系统标题、浏览器icon、系统logo用于组织的个性化配置,该组织下的用户登录时,系统页面也会加载对应的图标、logo、标题
注:组织类型:【超级组织】只有一个,为中海达集团组织

组织管理列表可进行详情查看、编辑和删除操作

部门管理
【功能说明】部门管理用于添加系统可复用部门,只能关联到一个组织,可被多个用户关联
【操作说明】选择“部门管理”模块菜单,进入部门管理界面,点击“+新增”按钮,显示创建部门弹框,输入必填项,关联到某个组织
注:部门全称、部门简称不允许重名
新增子级部门时,子级部门对应的组织,默认是父级部门对应的组织,不允许修改

部门管理列表可进行详情查看、编辑和删除操作,同时可以新增子部门,最多为3级

角色管理
角色授权说明:

【功能说明】角色管理用于添加系统可复用角色,只能关联到一个组织,可被多个用户关联
【操作说明】
- 选择“角色管理”模块菜单,进入角色管理界面
- 点击“+新增”按钮,显示创建角色弹框,输入必填项,关联到某个组织

- 角色管理列表可进行详情查看、编辑和删除,以及角色授权操作。可以根据角色工程权限、设备分组权限、角色名称、角色所在组织进行角色搜索。

- 点击“角色授权”按钮,可看到角色已被分配了所有模块的查看权限,可进行权限编辑
注:在中海达监测云v2.0平台会加载登录用户的角色权限配置,只会加载具备权限的模块

用户管理
【功能说明】角色管理用于添加系统用户,只能关联到某个组织,以及关联该组织关联的部门和角色
【操作说明】
- 选择“用户管理”模块菜单,进入用户管理界面
- 点击“+新增”按钮,显示创建用户弹框,输入必填项,关联到某个组织,以及该组织关联的部门和角色
注:组织、部门、角色为级联必填项,当选中组织下关联的部门为空,或选中部门下关联的角色为空,则无法保存成功;
密码规则:6-20位密码,必须包含英文字母和数字

- 用户管理列表可进行详情查看、编辑和删除,以及修改密码操作

- 点击“修改密码”按钮,可以修改用户的密码

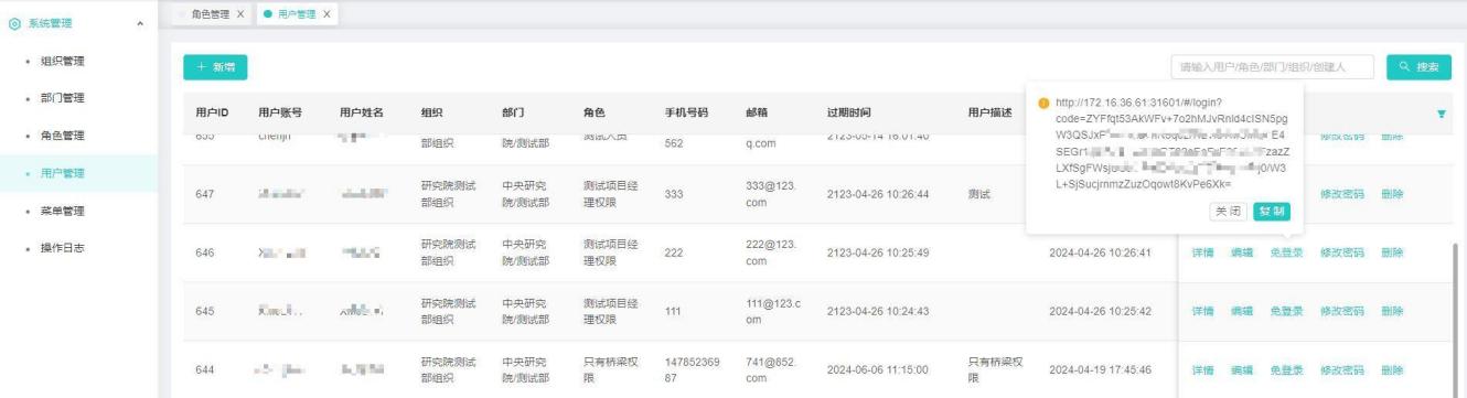
- 免登录
【功能说明】 用户中心支持对指定账户生成免登录key,快速给给客户试用账户。
【操作用户】 普通管理员(组织类型为:超级组织)
【操作说明】1、使用管理员登录平台,进入用户中心-系统管理-用户管理,点击任一用户后的”免登录”按钮,自动生成免登录码,包含:监测云平台登录地址+免登录码;
2、复制免登录码,打开浏览器,输入该免登录码信息,可自动登录平台。
注:非【超级组织】组织类型下的用户,进入用户中心不展示免登录按钮。


菜单管理
【功能说明】监测平台功能模块详情管理。可针对各模块菜单栏进行新增、编辑、查询、删除等操作,最多赋予3级菜单栏结构。(重要数据,如无特殊需求建议勿修改其配置,可能基础数据丢失)
【操作说明】用户登录平台后进入【用户中心】子系统 “系统管理”下“菜单管理”

操作日志
【功能说明】对登录用户全面监控。可对业务模块进行查询其操作等步骤
注:操作日志包含操作模块下拉所有模块的操作记录,覆盖增、删、改
