2、监测预警
监测预警
监测数据
监测数据
【功能说明】展示当前工程下的工程图纸和监测站点详情数据管理。
【操作说明】监测数据以图纸、图表、表格多种方式展示站点的监测数据,便于用户查看站点当前的监测数据,或者按照时间段查看站点的历史监测数据
- 工程图纸。工程信息中上传的工程图纸示意图在此展示,

- 监测数据。展示例如地表位移、雨量、裂缝等站点的监测数据,可选择图表和表格两种展示方式。

视频监控
【操作说明】进入【视频管理】展示视频卡片管理,视频监控可支持九宫格展示实时监控画面。选择视频卡片跳转视频实时监控画面,并可对其执行操作 
点击视频右上角的多,可查看视频监控的实时监控、历史回放、历史图片
|
|
|
|
|
a.实时监控 |
b.历史回放 |
c.历史图片 |
原始数据
【功能说明】设备终端上报的原始数据,未经过行业脚本转换,原始通讯数据展示
【操作用户】监测用户
【操作说明】进入监测预警-监测数据-原始数据,展示设备上报的实时监测数据(非行业应用数据)与设备详情中通讯数据同步。
传感器上报的原始数据,未经行业脚本处理,仅经过服务模块解析。
2、展示GNSS观测数据统计,且可下载对应日期观测数据。与解算中心中观测数据同步。

工程管理
巡检记录
【功能说明】应用于站点监测巡查情况记录管理,如:增加,编辑,详情
【操作说明】记录该工程每次的巡检情况,方便异常问题后续跟踪和整改。

- 新增巡检记录
- 选择工程:选择对应的工程,点击“新增”按钮,工程信息会默认选取当前工程的名称,巡检人默认选取当前登录的用户;
- 填写基础信息:选择巡检类型,分别是日常巡检、汛期巡检和季度巡检。完成巡检日期、巡检内容、巡检结果、图片上传的填写;(注:当巡检结果为异常时,需要选取一名工程成员作为整改人)
- 勾选检查项:当选择了“巡检类型”后,页面下方巡检项会自动加载对应的“检查项列表”,创建人可以按实际情况勾选结果;
- 点击“确定”按钮后,即可保存数据;

- 查看详情:
- 点击列表对应的巡检记录的“详情”按钮,则会弹出该记录的详细情况。


- 整改回复
- 当有巡检记录为“异常”状态,并且作为整改人的时候,该用户查看巡检记录时,会显示“整改回复”按钮;
- 点击“整改回复”按钮,进入整改回复页面,填写整改信息:整改日期、整改措施和附件资料,点击“处理完成”按钮;
- 巡检记录的状态变成“待确认”;



- 整改确认
- 作为该巡检记录的创建人,且存在巡检异常的情况,经过整改人的整改信息填写后,最后的流程会回到创建人手上。若整改人的整改措施达到满意效果,则可以在整改确认中选择“通过”来关闭当前问题;
- 若在整改确认中,整改措施不符合要求的时候,创建人可以选择“不通过”来将流程回退到给整改人;

巡检计划
【功能说明】应用于站点监测巡查计划管理,如:编辑计划
【操作说明】用户可以为该工程设定巡检计划,并统计出累积完成次数、本月计划次数、完成巡检次数、未完成次数和未启动次数。

进度管理
【功能说明】搭设工程站点信息汇报管理
【操作用户】监测云用户
【操作说明】1、用户登录系统后,点击“监测预警”进入监测预警子系统
2、点击“进度管理”,展示进度管理列表
①新增站点后。进度管理列表则自动在其工程下创建站点进度任务

【进度流程】进度填报阶段
【操作用户】进度登记人
【操作步骤】点击”操作”-”进度管理”进入进度任务填报(首次填报需先保存)

③踏勘阶段填报

基础阶段填报

设备安装填报

围栏安装填报

设备调试填报


【进度流程】进度审核阶段
【操作用户】进度审核员
所有阶段施工完成,对待审核阶段进度进行审核处理
踏勘阶段审核

基础阶段审核

设备安装阶段审核

围栏安装阶段审核

设备调试阶段审核

不通过时所有阶段均为不通过,待施工人员再次修改进度填报后再次进行审核

通过则所有阶段均为通过,进度施工完成上线

进度查询
【功能说明】应对各项目包、隐患点、站点进度查询详细统计
【操作说明】衔接进度管理,站点已完成施工阶段并审核
①查看监测云平台所有工程、子工程总项目统计及各阶段通过完成结果 
②查看隐患点所有站点完成率统计 
③站点进度完成统计

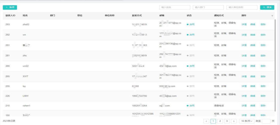
联系人管理
【功能说明】应用于预警系统联系人通讯录管理,如:新增、编辑、删除、查询、详情
【操作说明】1、用户登录系统后,顶部导航栏选择【水利监测】行业和工程
2、进入【项目管理】-平台管理,点击“联系人管理”,展示联系人汇总和列表

3、①新增联系人配置、联系人姓名不可重复。②联系人可选择工程与不选择,如选择则只允许该工程使用该联系人,不选则为全局皆可使用该联系人。③可单独配置联系人只接收短信或邮件以及语音通知④可配置联系人启用与禁用

4、针对联系人可进行”增”、”删”、”改”、”查”操作
预警管理

预警管理
【功能说明】工程及站点告警配置及播报管理,如:新增配置、编辑配置、删除配置、查询配置、联系人配置、同步预警配置
【操作说明】单项预警进入监测预警 “预警管理”-“预警管理”
1、选择工程
2、选择需要配置预警阈值的站点
3、在弹出的窗体中,选择不同的预警等级
4、设置触发预警值必须达到的次数
5、设置判断方式(>、>=、<、<=、=)
6、预警阈值/变化量
注:相同的预警项,如x,在不同的预警等级中设置的判断方式,必须一致;
相同的预警项,如x,在不同的预警等级中设置阈值,必须满足:高等级的阈值必须大于低等级的阈值。
变化量:单次变化量=本次监测值-上次监测值
|
|
|
|
a.阈值配置 |
|
|
|
|
|
b.阈值预警 |
c.变化量预警 |
组合预警
1、点击组合预警Tab
2、点击新增,添加组合预警规则
3. 填写组合预警信息,选择监测方法、测项,保存
注:1、需先具备单项预警,才能选择其监测方法组合,至多选择4种监测方法;
2、组合预警测项预警阈值,与单项预警测项阈值一致。

4、若工程下存在单项预警,再新增或编辑组合预警,会自动关闭单项预警

注:例如1、组合预警1 包含有A/B 2个预警据,2个预警判据都触发告警,则组合预警方可产生告警播报,如其中1项未能满足预警判据,则不产生组合告警播报。
2、若同个站点同时拥有组合预警、预警判据,且都触发告警,则取最高等级告警赋予站点。
配置预警联系人
1、选择预警联系人配置 2.选择需要配置预警等级的联系人 3.选择对应的联系人

同步预警联系人
1、选择同步预警联系人 2.选择需要同步预警联系人的站点 3.预警联系人同步到其他站点

同步预警配置
1、选择同步预警配置2、选择站点类型或站点3、选择需要同步的站点4、该站点类型或站点同步到当前工程下同类型的站点

及时预警
开启与关闭及时预警影响预警是否自动发送或手动发送报警短信与邮件及喇叭播报,不影响其报警状态与日志(详见数据告警流程)

喇叭播报
工程中存在喇叭站点,在预警判据界面会出现“预警喇叭”选项。选择喇叭站点并保存,预警时会联动喇叭播报预警内容。

告警日志
【功能说明】展示告警后产生的日志内容详细信息
【操作说明】1、用户登录平台后进入【项目管理】子系统 “预警管理”-“告警日志”
单项预警日志列表,可进行日志详情查看、导出、及搜索

2、组合预警告警日志展示格式,可进行日志详情查看、导出、及搜索

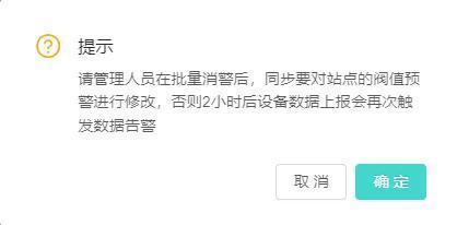
数据告警
【功能说明】告警数据展示与统计,执行手动关闭预警播报
【操作说明】1、用户登录平台后进入【监测预警】子系统 “预警管理”-“数据告警”
站点触发预警时均记录在数据告警中,且站点未开启及时预警时可手动判断其预警是否为真实预警,是则报警,否则取消报警。


2、批量消警。在数据告警界面,点击批量消警,确认消警时长,批量消警成功。GIS大屏中的站点报警统计也同步消警。在消警时间内站点上报的数据超过设置的阈值,不会触发报警。

视频告警
【功能说明】视频设备抓拍管理
【操作说明】用户登录平台后进入【监测预警】子系统 “预警管理”-“视频告警”
视频抓拍触发AI识别告警,可对其进行处理

预警通知
【功能说明】应对工程站点触发预警播报后,告警短信、邮件、语音将推送给联系人
①触发预警。监测大屏更新预警状态;预警日志打印预警信息;对应站点所绑定预警联系人手机接收预警短息,邮箱接收预警邮件
- 预警日志展示

- 监测大屏展示

- 短信展示

- 邮件展示

- 语音播报

数据分析
数据趋势分析
【功能说明】针对测项进行未来趋势预测
【操作说明】1、选择其需要预测趋势的站点及监测方法下的测项
2、 选择预测数量和预测算法

相关性分析
【功能说明】不同测项间的走势影响线性图展示
【操作说明】用户登录平台后进入【监测预警】子系统 “数据分析”
进入相关系分析,并通过选择不同站点的不同监测项,加载曲线图形,对比不同测项间的走势影响

监测体分析
【功能说明】监测体分析功能中,地灾行业提供了深部位移监测体,矿山行业提供了深部位移监测体、干滩监测体(坡度角已知)、干滩监测体(坡度角未知)、浸润线监测体、干滩监测体(干滩曲线),水利行业提供了雨水情监测体、浸润线监测体、深部位移监测体、桥梁行业提供了静挠度监测体,通过多个、多种设备组合,分析计算出干滩长度、安全超高、深部位移等关键信息。
【操作说明】用户登录平台后进入监测预警-数据分析-监测体分析
- 干滩监测体分析
(1) 新增设备,在干滩监测体分析中,需要2~3种设备:雷达物位计、水位计、雨量计(非必须)
(2) 新增站点(以矿山行业为例),如果已知干滩的坡度角,则选择站点类型为干滩监测站(坡度角已知),否则选择站点类型为干滩监测站(坡度角未知)

干滩监测体(坡度角已知)

干滩监测体(坡度角未知)
(3) 选择监测体配置,填入所需的配置项,包括:干滩高程、雷达物位计1到滩顶的直线距离,坡度角(已知坡度角时必填),雷达物位计1到雷达物位计2的水平距离(未知坡度角时必填)

(4) 点击示意图上的雷达物位计、水位计的图表,选择安装在对应位置的传感器(雷达物位计需要配置安装时的高程数据)


(5) 点击保存站点,干滩监测体会根据设备上报的数据进行计算,基于采集数据的正确性,程序会采集一个小时的数据,进行计算。等待一个小时之后,进入监测管理-数据分析-监测体分析,切换对应的工程,选择干滩监测体,据站点、统计时间、统计类型,可以查看干滩的详细信息、历史数据、干滩长度、安全超高等数据

- 深部位移监测体分析
(1) 新增设备,在深部位移监测体分析中,需要1种设备:测斜仪,添加测斜仪传感器过程中,需要要为测斜仪配置安装测斜仪传感器的实际埋深,以及安装时的初始偏移角度x、y

(2) 新增站点(请确保当前选中工程所属行业为地灾/矿山行业),站点类型为深部位移监测站,填入所需的配置项,包括:孔口高程、孔底高程

(3) 选择在第一步中新增的设备

(4)点击保存站点,深部位移监测体会根据设备上报的数据进行计算,进入监测管理-数据分析-监测体分析,切换对应的工程,选择深部位移监测体,根据站点、统计时间,可以查看深部位移的3维剖面图以及在x、y方向的位移趋势图

- 干滩监测体分析(干滩曲线)
【功能说明】由于现网监测云2.0用物位计测量干摊长度(不管用物位计”反算坡度角“还是“坡度角已知”)对应现场复杂的干摊环境(如不规则形状的干摊边坡面)测量的结果很不太准,因此使用【干滩长度曲线】方法来拟合【干摊长度】
【操作用户】监测用户
【操作说明】
1、矿山行业,新增工程时,增加子页面干滩长度关系曲线。
2、支持平台批量导入干摊长度曲线excle表及导出模板表。


批量导入干滩曲线模板




干滩监测体(干滩曲线):
1、进入”运维中心”-平台管理-站点信息,点击“新增”,站点类型选择【干滩监测体(干滩曲线)】
2、站点类型要绑定”雷达水位计或物位计“;
3、通过绑定的关绑定的雷达水位计,测出实时尾矿库的干摊库区”水位“值后与工程登记的干摊曲线“结合,自动反算出”干摊长度“;
4、干摊长度数据成果展示;
5、在”监测预警–实时数据“,只加干摊长度实时曲线图;
6、在”监测预警–监测体分析“,加载干摊监测体(干滩曲线)信息
监测报表
【功能说明】不同监测类型日、周、月报表相关统计信息展示
【操作说明】进入”监测报表”根据不同的监测类型查询相关报表信息,可查询日报、周报、月报,以及支持导出功能

其中,深部位移监测报表支持展示输出安装高程。

地表位移监测报表支持展示基准坐标、本初值、本期测值、本期偏移值、累计偏移值。
1、本期偏移量= 本期测值-本期初值
2、累计偏移量:本期测值-基准坐标
3、本期测值:统计时间范围内最后一刻解算结果坐标值
4、本期初值:统计时间范围内的第一次坐标值
本期初值与本期测值的水平位移和和位移在解算数据中查看。

2、支持批量导出监测报表

监测报告
【功能说明】不同监测类型日报、周报、月报、年报、自定义报告相关统计信息展示
【操作说明】
1、进入“监测报告”根据不同的监测类型查询相关报告信息,可查询以及手动生成日报、周报、月报、年报以及自定义报告;
2、可对报告模板中的工程概况、设计原则及编制依据、监测内容和布点、监测结论与建议进行编辑;
3、在报告模板中能对设定周报统计日期和设定监测数据抽稀情况;
4、能对已生成的报告进行预览、编辑和下载;
5、能手动生成指定报告类型和统计周期的报告。




离散性分析
【功能说明】离散性分析:针对地矿、水利、桥梁GNSS数据分析特定简易算法模型,反馈数据聚合程度,数据一直在离散线上合量徘徊
【操作说明】用户登录平台后进入监测预警-数据分析-离散性分析,选择站点和查看数据的时间,点击搜索,查看站点数据的离散点分部展示情况。
1、根据地矿、水利、桥梁监测数据的类型GNSS表面位移划分离散点曲线图;
2、如监测类型有多监测因子GNSS的XYZ三轴立体空间式展示。
3、主要划分显示:X/Y/Z三向空间轴;
4、空间坐标轴主要加载检索时间周期内的(默认先加一周内的数据)起始点、历史点、结束点的X/Y/Z实时数据;
5、鼠标移进点击某一个“点”数据时,可以有个小浮窗加载这个“点”的实时数据(X/Y/Z)和采集时间;

极值分析
【功能说明】分析监测项的极值最大和最小值,评估极值对安全是否超出影响
【操作说明】用户登录平台后,顶部导航栏选择行业和工程,进入【监测预警】-数据分析-极值分析,选择数据时间和监测项,查看极大值和极小值的分布情况;
1、针对地矿、水利、桥梁监测数据的类型划极值分析曲线图;
2、X轴:显示各监测类型的监测因子的实时数据、Y轴:显示时间
3、曲线图加载显示检索时间段内的极值(最大和最小值)
4、鼠标移进点击某一个“点”数据时,可以有个小浮窗加载这个“点”的各监测项的实时数据(GNSS这类的多个监测因子以单个监测因子显示)和采集时间;
5、曲线图下面列表汇总极值:XXX~XXX时间检索周期,XXX监测类型项,极大值为XXX,极小值为XXX。上下峰值为:XXX。

统计报表
站点接入统计
【功能说明】统计当前行业下各站点类型接入明细如:设备总数、正常数、正常率
【操作说明】进入统计分析-统计报表-站点接入统计,展示当前行业下各工程不同监测类型站点的总数以及正常站点数

点击工程后的详情,展示当前工程下的监测类型、站点名称、站点状态以及异常站点的异常原因

人工监测
数据录入
【功能说明】针对工作人员在指定日期中收集到的仪器监测数据进行导入保存
【操作说明】用户登录平台后进入【监测预警】子系统 “数据分析”下”数据趋势分析”选择导入收集到的监测数据


测量数据
【功能说明】针对导入的监测数据进行数据测量分析






